Abstract
The simple instalment of mobile charging piles benefits for its convenient layout, while dynamic arrangements of those charging piles through mobile mode make up for the insufficient number of fixed charging piles, which meets the growing charging demand under the increasing popularity of electric vehicles. According to the application requirements of mobile charging piles, CATIA software was used to model the structure, of which strength and reliability were analysed under four load conditions. Our results have demonstrated that the maximum deformation value of the structure is 3.07 mm, and the maximum stress is 134.41 MPa, which is within the safety range of the selected materials. In addition, the gravity centre of the charging pile is located at the bottom of the structure, and thus the stability meets the requirements. Taken together, our research provided a beneficial reference for future engineering practice.
1 Introduction
Currently, energy conservation and emission reduction have become the consensus of the whole society. The carbon emission of traditional internal combustion vehicles attracts public attention and has become one of the key areas of carbon emission reduction. Therefore, the electric vehicle market has witnessed rapid development. The new energy vehicle market in China is one of the largest markets worldwide. In 2020, the new energy vehicle sales reached 1.367 million, with 13.3% year-on-year growth. Till the end of 2020, the number of new energy vehicles had reached 4.92 million. Compared with the development of the electric vehicle industry, the development of industry for electric vehicles and its supporting facilities is relatively late in China. In 2006, the first electric vehicle charging pile station was built in Shenzhen, while the accelerated development of the field has been witnessed since 2014. By the end of 2020, the number of public and private charging piles was 1.681 million, while the ratio of vehicle to pile was 3:1. All the data revealed the huge market demand behind the shortage of charging piles. The development of charging facilities, the prerequisite for the operation of electric vehicles, has been identified as the key factor, whose quality, performance, and technological level would directly affect the popularity and development of electric vehicles. Only by increasing the number of charging piles constantly and optimizing the layout, can charging piles match the charging demand of electric vehicles [1,2].
Field research results have shown that existent charging piles are almost fixed and installed in the open-parking ground. For instance, parking spaces are limited at some places, where the set charging pile parking spaces would be occupied by ordinary vehicles, resulting in the idle and low utilization rate of charging piles. In another word, it is a waste of existing charging resources [3,4]. However, in parking lots especially in transfer hubs and large venues, where realistic demands for charging piles emerge due to the aggregation of people. Thus, it is essential to design mobile charging piles for a convenient layout.
2 Modelling of mobile charging piles
The mobile charging pile is mainly composed of the core control module, charging gun group and its interface module, human–computer interaction module, safety protection module, and data communication and monitoring module. Mobile charging piles operate outdoor usually, which means their structure must be able to withstand the requirements of the external environment. At the same time, it should sustain the load during the transportation process, to maintain the strength and stability of the structure [5].
2.1 Material selection
The charging pile adopts a frame structure with welding and riveting process. According to environmental requirements, aluminium alloy, steel, and other materials are generally selected. According to the clear and specific provisions on relevant requirements from State Grid Q/GDW485-2010 “Technical Conditions for AC Charging Piles for Electric Vehicles,” considering the cost and manufacturing factors comprehensively, Q235A Profile has been chosen. The basic properties of the material are shown in Table 1.
Main properties of Q235A
| Material | Poisson ratio | Elastic modular (GPa) | Density (kg/m3) | Yield stress (MPa) | Tension strength (MPa) |
|---|---|---|---|---|---|
| Q235A | 0.3 | 200 | 7,850 | 235 | 375 |
2.2 Structure modelling of charging piles
CATIA was used to model the pile structure, in which four columns were made of angle steel and the rest brackets were made of square steel. Four wheels were designed at the bottom to facilitate the movement of charging piles. Each functional module of the charging pile is arranged in the modular partition. Moreover, the principle of man–machine engineering was employed in different functional zones for user convenience. The three-dimensional model of pile structure frame design is shown in Figure 1.

Detailed designed structure model of pile frame.
3 Static analysis of charging pile structure
3.1 Model simplification and network partitioning
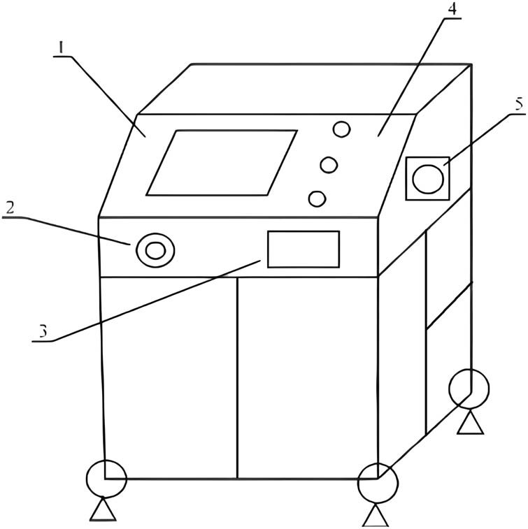
The structure and function of the mobile charging pile with detailed sketch of functional modules are shown in Figure 2. As shown in Figure 2, 1 indicates the LCD screen; 2 indicates emergency stop button; 3 indicates the card swiping area; 4 indicates the indicator; and 5 indicates the charging port [6].

Design sketch of charging post functional module area. 1 indicates the LCDscreen; 2 indicates emergency stop button; 3 indicatesthe card swiping area; 4 indicates the indicator; and 5indicates the charging port.
In general, the charging pile body is connected by welding and rivets. In the finite element analysis system, considering the complexity of the charging pile structure, the complex parts were simplified under the premise of not affecting the overall strength by following certain simplification principles:
In the linear statics calculation of the overall structure of the frame, each connection part has been assumed safe and reliable. And the connection and welding are assumed firm with the strength which is far greater than the yield strength of the component materials.
The charging pile body is connected by welding and rivets, so there are a large number of welds and rivet holes on the parts. The size of these weld gaps and holes is very small compared to the overall structure of the box bottom frame; even though, their existence could affect the mesh division of the overall structure of the box bottom frame, resulting in non-convergence of solution. Thus, it needs to be ignored in the mechanical model.
The non-bearing parts on the pile skeleton could be ignored as they cannot play a supporting role.
The body of the charging pile was connected by welding and riveting, parts of which had large amounts of weld and rivet holes. Even though those weld gap and hole sizes are too small to influence the whole frame structure, their existence would affect the meshing of the whole frame structure at the bottom of the box, leading to divergence in solution, and thus was ignored in the process of mechanical model analysis. In the statics calculation of the whole structure of the frame, it is assumed that each connection part is safe and reliable, while the connection and welding are firm, whose strength is far greater than the yield strength of the component materials. The non-bearing parts on the pile skeleton have shown no structural support function, which can be ignored. In general, the charging pile works in a static state and is fixed at the bottom during transportation; therefore, we replaced the four wheels with mass blocks for simplification. Furthermore, the overall mesh size of the model has been controlled around 20 mm by mapping mesh division. In details of mesh statistics, the pile skeleton has been divided into 167,714 nodes and 98,883 units, as shown in Figure 3.

Grid plot of pile framework.
3.2 Static analysis under four load conditions (LCs)
Certain load impact has been observed in mobile charging piles during transportation. Generally, in the process of transportation, the charging pile is placed on a special support frame with a fixed bottom, so the LC can be established by referring to the vibration and impact of the train electrical box equipment. Based on the research done by Liu and colleagues, considering that the vertical and lateral impact of the vehicle is higher than the train, and the impact acceleration should be no more than 10g, the acceleration value in the longitudinal direction can be assumed by longitudinal value of the train generally. So, the proposed three accelerations are 5g in the X direction (longitude), 6g in the Y direction (vertical), and 6g in the Z direction (horizontal), respectively (g = 9.80 m/s2, represents the gravitational acceleration) [7].
The overall weight of the charging pile was approximately 98–100 kg, of which the skeleton was about 40–50 kg. The weight of the safety protection module, human–computer interaction module, charging gun and its interface components, core control module, and data communication and monitoring module of the charging pile were 2, 8, 22, 12, and 6 kg, respectively. In the static analysis, the above-mentioned five parts were applied to the corresponding bearing surface of the charging pile in the form of mass point by mass unit Mass21. The four wheels at the bottom have been simplified to the holder, whose displacement and rotation degrees of freedom have been fully constrained.
LC 1: The force and displacement of charging piles were analysed when +5g longitudinal acceleration was applied in the X direction, +6g vertical acceleration in the Y direction, and +6g transverse acceleration in the Z direction. The relevant results of deformation and equivalent stress of the main body of the charging pile under this LC are shown in Figures 4 and 5.

LC1 deformation distribution.

LC1 stress profile.

LC2 deformation distribution.

LC2 stress profile.

LC3 deformation distribution.

LC3 stress profile.
As shown in Figures 4 and 5, the maximum displacement of the charging pile skeleton was 2.79 mm on the top four steel frames. The maximum stress was 110.13 MPa, which is obviously less than the material yield limit (235 MPa). Thus, the main structure of the charging pile has shown sufficient strength and safety margin under this accelerated LC.
LC 2: The force and displacement of the charging pile were analysed when +5g longitudinal acceleration was applied in the X direction, +6g vertical acceleration in the Y direction, and −6g transverse acceleration in the Z direction. The relevant results of deformation and equivalent stress of the main body of the charging pile under this LC are shown in Figures 6 and 7.
From the data, the maximum displacement of the charging pile was 2.80 mm on the top of the skeleton, whose connections were also in the maximum displacement zone. The maximum stress was 113.34 MPa, far less than the material yield limit. Taken together, the main structure of the charging pile exhibited sufficient strength and safety margin under the accelerated LC.
LC 3: The force and displacement of the charging pile were analysed when −5g longitudinal acceleration was applied in the X direction, +6g vertical acceleration in the Y direction, and +6g transverse acceleration in the Z direction. The relevant results of deformation and equivalent stress of the main body of the charging pile under this LC are shown in Figures 8 and 9.
It has been displayed in figures that the maximum deformation was 3.07 mm, similar to deformation in LC2. The maximum stress was 130.01 MPa, less than the material yield limit, which happened only at the margin of the structure.
LC 4: The force and displacement of the charging pile were analysed when −5g longitudinal acceleration was applied in the X direction, +6g vertical acceleration in the Y direction, and −6g transverse acceleration in the Z direction. The relevant results of deformation and equivalent stress of the main body of the charging pile under this LC are shown in Figures 10 and 11.
According to the analysis of LC4, the maximum deformation of charging pile structure was 3.05 mm, close to LC3. The maximum stress was 134.41 MPa.

LC4 deformation distribution.

LC4 stress profile.
The analysis results of the above-mentioned four LCs are shown in Table 2. It revealed that the maximum deformation (3.07 mm) occurred in LC3, while the maximum stress (134.41 MPa) happened in LC4, mainly reflected in each corner. Taken together, the skeleton or main body of the charging pile meets the requirements of strength and safety margin.
Results of static analysis under four LCs
| LC | Maximum deformation (mm) | Maximum stress (MPa) |
|---|---|---|
| LC1 | 2.79 | 110.13 |
| LC2 | 2.80 | 113.34 |
| LC3 | 3.07 | 130.01 |
| LC4 | 3.05 | 134.41 |
4 Anti-dumping property analysis
The anti-dumping stability of the charging pile refers to the ability of the pile with parts to maintain its original equilibrium state in the process of moving. According to the principle of structural stability in mechanics, the structure is stable when the vertical line of gravity centre falls within the range of its bottom. The structured shape of the charging pile is fixed, so the method to improve the stability is mainly to adjust the position of gravity centre of the box, or to increase the size of the bottom support surface of the box, on the premise of not changing the overall structure size. Mobile charging piles are fixed by wheel support. The lower the gravity centre of the object, the better the stability and the anti-dumping ability. The anti-dumping property of the structure was guaranteed by the position of the gravity centre, and thus the stability of the structure can be assessed by calculating the gravity centre of the charging pile.
The calculation principle of the gravity centre is based on the static equilibrium formula, shown in Eqs. (1)–(6):
where Mi represents the quality of each component; Mo represents the total mass of charging pile. Xi, Yi, and Zi represent coordinate values of the gravity centre of each component in the X, Y, and Z direction in the three-dimensional Cartesian coordinate system of the pile, respectively. Xo, Yo, and Zo represent the coordinate value of the overall centre of gravity of the charging pile in the X, Y, and Z direction in the three-dimensional Cartesian coordinate system, respectively, as shown in Table 3.
Calculated gravity centre data
| Coordinate | Data |
|---|---|
| X axis | −2.7471 × 10−16 m |
| Y axis | 5.9484 × 10−2 m |
| Z axis | 0.71878 m |
The calculated gravity centre positions of the overall charging pile skeleton were roughly 0, 59.48, and 718.78 mm as calculated by the software. The vertical line of the gravity centre fell within the range of the bottom surface of the structure, so the skeleton structure of the designed charging pile was stable [7].
5 Conclusion
After modelling the mobile charging pile, analysis has demonstrated that the structural strength of the charging pile meets the requirements under four LCs. Simultaneously, the gravity centre of the structure fell perpendicular within the bottom surface of the charging pile, which indicates that its stability meets the requirements. However, structure materials, including composite environment-friendly materials, deserve more attention in future studies for weight-lightening and cost reduction, under the requirements of strength and stability [8]. In the meantime, ergonomic factors should be fully considered in structural design, in which innovative color material finishing design methods could be employed for the improvement of users’ convenience [9–12].
Furthermore, the layout of mobile charging piles is based on users’ demands. Mobile charging piles impact the power grid of the access system when charging, which indicates the possibility of new installation and layout rearrangement of the original power gird should be taken into consideration. Furthermore, the investigation of the intelligent regulation function of the power grid remains challenging. To date, the real-time intelligent metering method has been adopted to further optimize the power grid frequency regulation and peak regulation power of charging piles, for better controllability and load flexibility. Furthermore, the development of wireless mobile charging piles calls for great concerns, whose structure meets the requirements of electromagnetic and network environment are worthy of deeper study [13,14].
-
Funding information: The study presented in this article was substantially supported by the Natural Science Foundation of China (No. 51505172). The supports are gratefully acknowledged.
-
Author contributions: All authors have accepted responsibility for the entire content of this manuscript and approved its submission.
-
Conflict of interest: The authors state no conflict of interest.
-
Data availability statement: The datasets used and/or analysed during the current study are available from the corresponding author on reasonable request.
References
[1] Li PC, Yang J, Zhang JW, Cong ZX, Zhang QY. Design of optimized location model for electric vehicle charging pile. Electr Eng. 2018;21:47–50.Search in Google Scholar
[2] He L, Fu LK, Zheng LK, Gu Y, Cheng P, Chen JM, et al. ESync: an energy synchronized charging protocol for rechargeable wireless sensor networks. Philadelphia: ACM; 2014. p. 247–56.10.1145/2632951.2632970Search in Google Scholar
[3] Zhao Z, Zhang L, Yang M, Chai J, Li S. Pricing for private charging pile sharing considering EV consumers based on the non-cooperative game model. J Clean Prod. 2020;254(C):120039.10.1016/j.jclepro.2020.120039Search in Google Scholar
[4] Li GX, Cai XF. Preliminary design proportion and power selection of building charging pile. Electr Technol Intell Build. 2020;14(1):64–8.Search in Google Scholar
[5] Zhou ZM, Ji AH. Engineering design of electric vehicle charging station (pile). China: Publ House Electron Ind; 2017.Search in Google Scholar
[6] Wu ZM, Lu JF, Sun L, Hu T, Wang LX. Design of a mobile electric vehicle charging pile. Power Syst Prot Control. 2021;49(23):148–54.Search in Google Scholar
[7] Liu C. Structural performance analysis of combined distribution cabinet based on finite element method. Southwest Jiaotong University; 2015.Search in Google Scholar
[8] Galus MD, Vayá MG, Krause T, Andersson G. The role of electric vehicles in smart grids. Wiley Interdiscip Rev: Energy Env. 2013;2(4):384–400.10.1002/9781119508311.ch15Search in Google Scholar
[9] Deleebeeck L, Veltzé S. Electrochemical impedance spectroscopy study of commercial Li‐ion phosphate batteries: a metrology perspective. Int J Energy Res. 2020;44(9):7158–82.10.1002/er.5350Search in Google Scholar
[10] Fu LK, He L, Cheng P, Gu Y, Pan JP, Chen JM. ESync: energy synchronized mobile charging in rechargeable wireless sensor networks. IEEE Trans Veh Technol. 2016;65(9):7415–31.10.1109/TVT.2015.2481920Search in Google Scholar
[11] Monteiro V, Afonso JA, Ferreira JC, Afonso JL. Vehicle electrification: new challenges and opportunities for smart grids. Energies. 2018;12:1.10.3390/en12010118Search in Google Scholar
[12] Li M, Tian MY. CMF innovative design method for electric vehicle public charging station. Ind Des. 2019;12:46–7.Search in Google Scholar
[13] Saldaña G, Martañ JIS, Zamora I, Asensio FJ, Oederra O. Analysis of the current electric battery models for electric vehicle simulation. Energies. 2019;12:14.10.3390/en12142750Search in Google Scholar
[14] Shu Y, Yousefi H, Cheng P, Chen J, Gu YJ, He T, et al. Near-optimal velocity control for mobile charging in wireless rechargeable sensor networks. IEEE Trans Mob Comput. 2016;15(7):1699–713.10.1109/TMC.2015.2473163Search in Google Scholar
© 2022 Zhongming Wu et al., published by De Gruyter
This work is licensed under the Creative Commons Attribution 4.0 International License.
Articles in the same Issue
- Regular Articles
- Test influence of screen thickness on double-N six-light-screen sky screen target
- Analysis on the speed properties of the shock wave in light curtain
- Abundant accurate analytical and semi-analytical solutions of the positive Gardner–Kadomtsev–Petviashvili equation
- Measured distribution of cloud chamber tracks from radioactive decay: A new empirical approach to investigating the quantum measurement problem
- Nuclear radiation detection based on the convolutional neural network under public surveillance scenarios
- Effect of process parameters on density and mechanical behaviour of a selective laser melted 17-4PH stainless steel alloy
- Performance evaluation of self-mixing interferometer with the ceramic type piezoelectric accelerometers
- Effect of geometry error on the non-Newtonian flow in the ceramic microchannel molded by SLA
- Numerical investigation of ozone decomposition by self-excited oscillation cavitation jet
- Modeling electrostatic potential in FDSOI MOSFETS: An approach based on homotopy perturbations
- Modeling analysis of microenvironment of 3D cell mechanics based on machine vision
- Numerical solution for two-dimensional partial differential equations using SM’s method
- Multiple velocity composition in the standard synchronization
- Electroosmotic flow for Eyring fluid with Navier slip boundary condition under high zeta potential in a parallel microchannel
- Soliton solutions of Calogero–Degasperis–Fokas dynamical equation via modified mathematical methods
- Performance evaluation of a high-performance offshore cementing wastes accelerating agent
- Sapphire irradiation by phosphorus as an approach to improve its optical properties
- A physical model for calculating cementing quality based on the XGboost algorithm
- Experimental investigation and numerical analysis of stress concentration distribution at the typical slots for stiffeners
- An analytical model for solute transport from blood to tissue
- Finite-size effects in one-dimensional Bose–Einstein condensation of photons
- Drying kinetics of Pleurotus eryngii slices during hot air drying
- Computer-aided measurement technology for Cu2ZnSnS4 thin-film solar cell characteristics
- QCD phase diagram in a finite volume in the PNJL model
- Study on abundant analytical solutions of the new coupled Konno–Oono equation in the magnetic field
- Experimental analysis of a laser beam propagating in angular turbulence
- Numerical investigation of heat transfer in the nanofluids under the impact of length and radius of carbon nanotubes
- Multiple rogue wave solutions of a generalized (3+1)-dimensional variable-coefficient Kadomtsev--Petviashvili equation
- Optical properties and thermal stability of the H+-implanted Dy3+/Tm3+-codoped GeS2–Ga2S3–PbI2 chalcohalide glass waveguide
- Nonlinear dynamics for different nonautonomous wave structure solutions
- Numerical analysis of bioconvection-MHD flow of Williamson nanofluid with gyrotactic microbes and thermal radiation: New iterative method
- Modeling extreme value data with an upside down bathtub-shaped failure rate model
- Abundant optical soliton structures to the Fokas system arising in monomode optical fibers
- Analysis of the partially ionized kerosene oil-based ternary nanofluid flow over a convectively heated rotating surface
- Multiple-scale analysis of the parametric-driven sine-Gordon equation with phase shifts
- Magnetofluid unsteady electroosmotic flow of Jeffrey fluid at high zeta potential in parallel microchannels
- Effect of plasma-activated water on microbial quality and physicochemical properties of fresh beef
- The finite element modeling of the impacting process of hard particles on pump components
- Analysis of respiratory mechanics models with different kernels
- Extended warranty decision model of failure dependence wind turbine system based on cost-effectiveness analysis
- Breather wave and double-periodic soliton solutions for a (2+1)-dimensional generalized Hirota–Satsuma–Ito equation
- First-principle calculation of electronic structure and optical properties of (P, Ga, P–Ga) doped graphene
- Numerical simulation of nanofluid flow between two parallel disks using 3-stage Lobatto III-A formula
- Optimization method for detection a flying bullet
- Angle error control model of laser profilometer contact measurement
- Numerical study on flue gas–liquid flow with side-entering mixing
- Travelling waves solutions of the KP equation in weakly dispersive media
- Characterization of damage morphology of structural SiO2 film induced by nanosecond pulsed laser
- A study of generalized hypergeometric Matrix functions via two-parameter Mittag–Leffler matrix function
- Study of the length and influencing factors of air plasma ignition time
- Analysis of parametric effects in the wave profile of the variant Boussinesq equation through two analytical approaches
- The nonlinear vibration and dispersive wave systems with extended homoclinic breather wave solutions
- Generalized notion of integral inequalities of variables
- The seasonal variation in the polarization (Ex/Ey) of the characteristic wave in ionosphere plasma
- Impact of COVID 19 on the demand for an inventory model under preservation technology and advance payment facility
- Approximate solution of linear integral equations by Taylor ordering method: Applied mathematical approach
- Exploring the new optical solitons to the time-fractional integrable generalized (2+1)-dimensional nonlinear Schrödinger system via three different methods
- Irreversibility analysis in time-dependent Darcy–Forchheimer flow of viscous fluid with diffusion-thermo and thermo-diffusion effects
- Double diffusion in a combined cavity occupied by a nanofluid and heterogeneous porous media
- NTIM solution of the fractional order parabolic partial differential equations
- Jointly Rayleigh lifetime products in the presence of competing risks model
- Abundant exact solutions of higher-order dispersion variable coefficient KdV equation
- Laser cutting tobacco slice experiment: Effects of cutting power and cutting speed
- Performance evaluation of common-aperture visible and long-wave infrared imaging system based on a comprehensive resolution
- Diesel engine small-sample transfer learning fault diagnosis algorithm based on STFT time–frequency image and hyperparameter autonomous optimization deep convolutional network improved by PSO–GWO–BPNN surrogate model
- Analyses of electrokinetic energy conversion for periodic electromagnetohydrodynamic (EMHD) nanofluid through the rectangular microchannel under the Hall effects
- Propagation properties of cosh-Airy beams in an inhomogeneous medium with Gaussian PT-symmetric potentials
- Dynamics investigation on a Kadomtsev–Petviashvili equation with variable coefficients
- Study on fine characterization and reconstruction modeling of porous media based on spatially-resolved nuclear magnetic resonance technology
- Optimal block replacement policy for two-dimensional products considering imperfect maintenance with improved Salp swarm algorithm
- A hybrid forecasting model based on the group method of data handling and wavelet decomposition for monthly rivers streamflow data sets
- Hybrid pencil beam model based on photon characteristic line algorithm for lung radiotherapy in small fields
- Surface waves on a coated incompressible elastic half-space
- Radiation dose measurement on bone scintigraphy and planning clinical management
- Lie symmetry analysis for generalized short pulse equation
- Spectroscopic characteristics and dissociation of nitrogen trifluoride under external electric fields: Theoretical study
- Cross electromagnetic nanofluid flow examination with infinite shear rate viscosity and melting heat through Skan-Falkner wedge
- Convection heat–mass transfer of generalized Maxwell fluid with radiation effect, exponential heating, and chemical reaction using fractional Caputo–Fabrizio derivatives
- Weak nonlinear analysis of nanofluid convection with g-jitter using the Ginzburg--Landau model
- Strip waveguides in Yb3+-doped silicate glass formed by combination of He+ ion implantation and precise ultrashort pulse laser ablation
- Best selected forecasting models for COVID-19 pandemic
- Research on attenuation motion test at oblique incidence based on double-N six-light-screen system
- Review Articles
- Progress in epitaxial growth of stanene
- Review and validation of photovoltaic solar simulation tools/software based on case study
- Brief Report
- The Debye–Scherrer technique – rapid detection for applications
- Rapid Communication
- Radial oscillations of an electron in a Coulomb attracting field
- Special Issue on Novel Numerical and Analytical Techniques for Fractional Nonlinear Schrodinger Type - Part II
- The exact solutions of the stochastic fractional-space Allen–Cahn equation
- Propagation of some new traveling wave patterns of the double dispersive equation
- A new modified technique to study the dynamics of fractional hyperbolic-telegraph equations
- An orthotropic thermo-viscoelastic infinite medium with a cylindrical cavity of temperature dependent properties via MGT thermoelasticity
- Modeling of hepatitis B epidemic model with fractional operator
- Special Issue on Transport phenomena and thermal analysis in micro/nano-scale structure surfaces - Part III
- Investigation of effective thermal conductivity of SiC foam ceramics with various pore densities
- Nonlocal magneto-thermoelastic infinite half-space due to a periodically varying heat flow under Caputo–Fabrizio fractional derivative heat equation
- The flow and heat transfer characteristics of DPF porous media with different structures based on LBM
- Homotopy analysis method with application to thin-film flow of couple stress fluid through a vertical cylinder
- Special Issue on Advanced Topics on the Modelling and Assessment of Complicated Physical Phenomena - Part II
- Asymptotic analysis of hepatitis B epidemic model using Caputo Fabrizio fractional operator
- Influence of chemical reaction on MHD Newtonian fluid flow on vertical plate in porous medium in conjunction with thermal radiation
- Structure of analytical ion-acoustic solitary wave solutions for the dynamical system of nonlinear wave propagation
- Evaluation of ESBL resistance dynamics in Escherichia coli isolates by mathematical modeling
- On theoretical analysis of nonlinear fractional order partial Benney equations under nonsingular kernel
- The solutions of nonlinear fractional partial differential equations by using a novel technique
- Modelling and graphing the Wi-Fi wave field using the shape function
- Generalized invexity and duality in multiobjective variational problems involving non-singular fractional derivative
- Impact of the convergent geometric profile on boundary layer separation in the supersonic over-expanded nozzle
- Variable stepsize construction of a two-step optimized hybrid block method with relative stability
- Thermal transport with nanoparticles of fractional Oldroyd-B fluid under the effects of magnetic field, radiations, and viscous dissipation: Entropy generation; via finite difference method
- Special Issue on Advanced Energy Materials - Part I
- Voltage regulation and power-saving method of asynchronous motor based on fuzzy control theory
- The structure design of mobile charging piles
- Analysis and modeling of pitaya slices in a heat pump drying system
- Design of pulse laser high-precision ranging algorithm under low signal-to-noise ratio
- Special Issue on Geological Modeling and Geospatial Data Analysis
- Determination of luminescent characteristics of organometallic complex in land and coal mining
- InSAR terrain mapping error sources based on satellite interferometry
Articles in the same Issue
- Regular Articles
- Test influence of screen thickness on double-N six-light-screen sky screen target
- Analysis on the speed properties of the shock wave in light curtain
- Abundant accurate analytical and semi-analytical solutions of the positive Gardner–Kadomtsev–Petviashvili equation
- Measured distribution of cloud chamber tracks from radioactive decay: A new empirical approach to investigating the quantum measurement problem
- Nuclear radiation detection based on the convolutional neural network under public surveillance scenarios
- Effect of process parameters on density and mechanical behaviour of a selective laser melted 17-4PH stainless steel alloy
- Performance evaluation of self-mixing interferometer with the ceramic type piezoelectric accelerometers
- Effect of geometry error on the non-Newtonian flow in the ceramic microchannel molded by SLA
- Numerical investigation of ozone decomposition by self-excited oscillation cavitation jet
- Modeling electrostatic potential in FDSOI MOSFETS: An approach based on homotopy perturbations
- Modeling analysis of microenvironment of 3D cell mechanics based on machine vision
- Numerical solution for two-dimensional partial differential equations using SM’s method
- Multiple velocity composition in the standard synchronization
- Electroosmotic flow for Eyring fluid with Navier slip boundary condition under high zeta potential in a parallel microchannel
- Soliton solutions of Calogero–Degasperis–Fokas dynamical equation via modified mathematical methods
- Performance evaluation of a high-performance offshore cementing wastes accelerating agent
- Sapphire irradiation by phosphorus as an approach to improve its optical properties
- A physical model for calculating cementing quality based on the XGboost algorithm
- Experimental investigation and numerical analysis of stress concentration distribution at the typical slots for stiffeners
- An analytical model for solute transport from blood to tissue
- Finite-size effects in one-dimensional Bose–Einstein condensation of photons
- Drying kinetics of Pleurotus eryngii slices during hot air drying
- Computer-aided measurement technology for Cu2ZnSnS4 thin-film solar cell characteristics
- QCD phase diagram in a finite volume in the PNJL model
- Study on abundant analytical solutions of the new coupled Konno–Oono equation in the magnetic field
- Experimental analysis of a laser beam propagating in angular turbulence
- Numerical investigation of heat transfer in the nanofluids under the impact of length and radius of carbon nanotubes
- Multiple rogue wave solutions of a generalized (3+1)-dimensional variable-coefficient Kadomtsev--Petviashvili equation
- Optical properties and thermal stability of the H+-implanted Dy3+/Tm3+-codoped GeS2–Ga2S3–PbI2 chalcohalide glass waveguide
- Nonlinear dynamics for different nonautonomous wave structure solutions
- Numerical analysis of bioconvection-MHD flow of Williamson nanofluid with gyrotactic microbes and thermal radiation: New iterative method
- Modeling extreme value data with an upside down bathtub-shaped failure rate model
- Abundant optical soliton structures to the Fokas system arising in monomode optical fibers
- Analysis of the partially ionized kerosene oil-based ternary nanofluid flow over a convectively heated rotating surface
- Multiple-scale analysis of the parametric-driven sine-Gordon equation with phase shifts
- Magnetofluid unsteady electroosmotic flow of Jeffrey fluid at high zeta potential in parallel microchannels
- Effect of plasma-activated water on microbial quality and physicochemical properties of fresh beef
- The finite element modeling of the impacting process of hard particles on pump components
- Analysis of respiratory mechanics models with different kernels
- Extended warranty decision model of failure dependence wind turbine system based on cost-effectiveness analysis
- Breather wave and double-periodic soliton solutions for a (2+1)-dimensional generalized Hirota–Satsuma–Ito equation
- First-principle calculation of electronic structure and optical properties of (P, Ga, P–Ga) doped graphene
- Numerical simulation of nanofluid flow between two parallel disks using 3-stage Lobatto III-A formula
- Optimization method for detection a flying bullet
- Angle error control model of laser profilometer contact measurement
- Numerical study on flue gas–liquid flow with side-entering mixing
- Travelling waves solutions of the KP equation in weakly dispersive media
- Characterization of damage morphology of structural SiO2 film induced by nanosecond pulsed laser
- A study of generalized hypergeometric Matrix functions via two-parameter Mittag–Leffler matrix function
- Study of the length and influencing factors of air plasma ignition time
- Analysis of parametric effects in the wave profile of the variant Boussinesq equation through two analytical approaches
- The nonlinear vibration and dispersive wave systems with extended homoclinic breather wave solutions
- Generalized notion of integral inequalities of variables
- The seasonal variation in the polarization (Ex/Ey) of the characteristic wave in ionosphere plasma
- Impact of COVID 19 on the demand for an inventory model under preservation technology and advance payment facility
- Approximate solution of linear integral equations by Taylor ordering method: Applied mathematical approach
- Exploring the new optical solitons to the time-fractional integrable generalized (2+1)-dimensional nonlinear Schrödinger system via three different methods
- Irreversibility analysis in time-dependent Darcy–Forchheimer flow of viscous fluid with diffusion-thermo and thermo-diffusion effects
- Double diffusion in a combined cavity occupied by a nanofluid and heterogeneous porous media
- NTIM solution of the fractional order parabolic partial differential equations
- Jointly Rayleigh lifetime products in the presence of competing risks model
- Abundant exact solutions of higher-order dispersion variable coefficient KdV equation
- Laser cutting tobacco slice experiment: Effects of cutting power and cutting speed
- Performance evaluation of common-aperture visible and long-wave infrared imaging system based on a comprehensive resolution
- Diesel engine small-sample transfer learning fault diagnosis algorithm based on STFT time–frequency image and hyperparameter autonomous optimization deep convolutional network improved by PSO–GWO–BPNN surrogate model
- Analyses of electrokinetic energy conversion for periodic electromagnetohydrodynamic (EMHD) nanofluid through the rectangular microchannel under the Hall effects
- Propagation properties of cosh-Airy beams in an inhomogeneous medium with Gaussian PT-symmetric potentials
- Dynamics investigation on a Kadomtsev–Petviashvili equation with variable coefficients
- Study on fine characterization and reconstruction modeling of porous media based on spatially-resolved nuclear magnetic resonance technology
- Optimal block replacement policy for two-dimensional products considering imperfect maintenance with improved Salp swarm algorithm
- A hybrid forecasting model based on the group method of data handling and wavelet decomposition for monthly rivers streamflow data sets
- Hybrid pencil beam model based on photon characteristic line algorithm for lung radiotherapy in small fields
- Surface waves on a coated incompressible elastic half-space
- Radiation dose measurement on bone scintigraphy and planning clinical management
- Lie symmetry analysis for generalized short pulse equation
- Spectroscopic characteristics and dissociation of nitrogen trifluoride under external electric fields: Theoretical study
- Cross electromagnetic nanofluid flow examination with infinite shear rate viscosity and melting heat through Skan-Falkner wedge
- Convection heat–mass transfer of generalized Maxwell fluid with radiation effect, exponential heating, and chemical reaction using fractional Caputo–Fabrizio derivatives
- Weak nonlinear analysis of nanofluid convection with g-jitter using the Ginzburg--Landau model
- Strip waveguides in Yb3+-doped silicate glass formed by combination of He+ ion implantation and precise ultrashort pulse laser ablation
- Best selected forecasting models for COVID-19 pandemic
- Research on attenuation motion test at oblique incidence based on double-N six-light-screen system
- Review Articles
- Progress in epitaxial growth of stanene
- Review and validation of photovoltaic solar simulation tools/software based on case study
- Brief Report
- The Debye–Scherrer technique – rapid detection for applications
- Rapid Communication
- Radial oscillations of an electron in a Coulomb attracting field
- Special Issue on Novel Numerical and Analytical Techniques for Fractional Nonlinear Schrodinger Type - Part II
- The exact solutions of the stochastic fractional-space Allen–Cahn equation
- Propagation of some new traveling wave patterns of the double dispersive equation
- A new modified technique to study the dynamics of fractional hyperbolic-telegraph equations
- An orthotropic thermo-viscoelastic infinite medium with a cylindrical cavity of temperature dependent properties via MGT thermoelasticity
- Modeling of hepatitis B epidemic model with fractional operator
- Special Issue on Transport phenomena and thermal analysis in micro/nano-scale structure surfaces - Part III
- Investigation of effective thermal conductivity of SiC foam ceramics with various pore densities
- Nonlocal magneto-thermoelastic infinite half-space due to a periodically varying heat flow under Caputo–Fabrizio fractional derivative heat equation
- The flow and heat transfer characteristics of DPF porous media with different structures based on LBM
- Homotopy analysis method with application to thin-film flow of couple stress fluid through a vertical cylinder
- Special Issue on Advanced Topics on the Modelling and Assessment of Complicated Physical Phenomena - Part II
- Asymptotic analysis of hepatitis B epidemic model using Caputo Fabrizio fractional operator
- Influence of chemical reaction on MHD Newtonian fluid flow on vertical plate in porous medium in conjunction with thermal radiation
- Structure of analytical ion-acoustic solitary wave solutions for the dynamical system of nonlinear wave propagation
- Evaluation of ESBL resistance dynamics in Escherichia coli isolates by mathematical modeling
- On theoretical analysis of nonlinear fractional order partial Benney equations under nonsingular kernel
- The solutions of nonlinear fractional partial differential equations by using a novel technique
- Modelling and graphing the Wi-Fi wave field using the shape function
- Generalized invexity and duality in multiobjective variational problems involving non-singular fractional derivative
- Impact of the convergent geometric profile on boundary layer separation in the supersonic over-expanded nozzle
- Variable stepsize construction of a two-step optimized hybrid block method with relative stability
- Thermal transport with nanoparticles of fractional Oldroyd-B fluid under the effects of magnetic field, radiations, and viscous dissipation: Entropy generation; via finite difference method
- Special Issue on Advanced Energy Materials - Part I
- Voltage regulation and power-saving method of asynchronous motor based on fuzzy control theory
- The structure design of mobile charging piles
- Analysis and modeling of pitaya slices in a heat pump drying system
- Design of pulse laser high-precision ranging algorithm under low signal-to-noise ratio
- Special Issue on Geological Modeling and Geospatial Data Analysis
- Determination of luminescent characteristics of organometallic complex in land and coal mining
- InSAR terrain mapping error sources based on satellite interferometry