Abstract
Textile cords and ribbons are an integral part of archival documents with pendent seals. These textiles are frequently highly degraded, especially in case of black-dyed silk. However, their maintenance in good condition is necessary for retention of the seal and thus the legal value of the document. Methods of chemical stabilization of iron-gall inks on a paper support are promising also for stabilization of degraded black-dyed silk. This chemical stabilization is based on deacidification or the use of antioxidants or a combination thereof. The deacidification is potentially dangerous for silk because of its high stability in the slightly acidic region. Therefore the stability of silk in the alkaline pH region was measured and even long-term immersion of silk in a medium with pH 9 did not result in degradation changes. The selected reagents (methoxymagnesium methyl carbonate, tetrabutylammonium bromide, cysteine, calcium phytate and tannin) were tested. The effect of stabilization procedures was studied on artificially damaged samples of black-dyed silk containing unbound ferrous ions. The effectiveness of the stabilization procedures and their influence on the long-term stability of silk were evaluated by means of colorimetry, mechanical properties (flexural rigidity, thread tensile strength), measuring the pH of the silk surface and scanning electron microscopy.
Zusammenfassung
Textilschnüre und -bänder sind ein wesentlicher Bestandteil von Dokumenten mit angehängten Siegeln. Diese Textilien sind häufig stark abgebaut, insbesondere im Fall von schwarz gefärbter Seide. Ihre mechanische Stabilität ist jedoch notwendig, um das Siegel und damit auch die Rechtskraft des Dokuments zu erhalten. Methoden zur chemischen Stabilisierung von Eisengallustinten auf Papier sind auch zur Stabilisierung von abgebauter schwarz gefärbter Seide vielversprechend. Diese chemische Stabilisierung basiert auf der Entsäuerung oder der Verwendung von Antioxidantien bzw. auch einer Kombination davon. Die Entsäuerung ist für Seide aufgrund ihrer Stabilität im leicht sauren Bereich potenziell gefährlich. Daher wurde die Stabilität von Seide im alkalischen Bereich gemessen, und es stellte sich heraus, dass selbst das langfristige Eintauchen von Seide in eine Lösung mit einem pH-Wert von 9 nicht zu verstärkten Abbaureaktionen führt. Die ausgewählten Reagenzien (Methoxymagnesiummethylcarbonat, Tetrabutylammoniumbromid, Cystein, Calciumphytat und Tannin) wurden getestet. Die Wirkung der Stabilisierungsverfahren wurde an mit ungebundenen Eisenionen künstlich geschädigten Proben schwarz gefärbter Seide untersucht. Die Wirksamkeit der Stabilisierungsverfahren und ihr Einfluss auf die Langzeitstabilität von Seide wurden mittels Kolorimetrie, der Messung mechanischer Eigenschaften (Biegesteifigkeit, Fadenzugfestigkeit), des pH-Werts der Seidenoberfläche und Rasterelektronenmikroskopie bewertet.
1 Introduction
Highly damaged textile cords and ribbons are encountered in the conservation of archival documents. The greatest damage can be observed especially on black silk threads (Figure 1).

Damaged ribbon.
These textiles are fragile, split easily, disintegrate, and lose their integrity. There is substantial danger of separation of the seal from the document. The damage is most probably caused by the employed iron-gall dye, which degrades over time and can cause serious damage or even complete disintegration of the silk threads. A similar problem can be encountered in the conservation of paper, where extensive research projects are being carried out in connection with the stabilization of iron-gall inks. The main components of these dyes and inks are substances containing ferrous ions (e.g., ferrous sulphate) and hydrolysed tannins containing gallic acid that react together to form an iron-gall complex (Cardon 2007; Tímár-Balázsy et al. 1998). The decomposition of this complex depends on the pH range. At pH less than 7, oxidation and hydrolysis occur to form yellow ellagic acid. At neutral pH, the iron gall complex decomposes to brown ferric hydroxide, and in the alkaline region, oxidation predominates to form brown purpurogallin (Krekel 1999). The decomposition products predominantly involve the mechanism of support degradation (acidic hydrolysis and oxidation) (Potthast, Henniges, and Banik 2008). The degradation of the iron-gall complex in textiles proceeds in a similar way as in paper and thus the procedures employed in treating papers affected by iron gall inks should also be applicable for the stabilization of black-dyed silk. In the selection of stabilization procedures it is, however, necessary to take into consideration that silk is composed of the protein fibroin, while the major component of paper is cellulose. For the application of stabilization processes, it is also necessary to take into account that textile cords are an integral part of archival documents and only local treatment is possible.
The conservation of iron-gall inks on a paper support employs chemical stabilization based on the application of deacidification and antioxidant agents. Deacidification reduces the acid hydrolysis of the paper support and simultaneously forms an alkaline reserve which prevents further degradation of the material by acids in the long term (Ahn et al. 2012). In addition, in the alkaline pH region, unbound ferrous ions formed by the degradation of the iron-gall complex are bonded in inactive compounds (e.g., they are oxidized to ferric hydroxyoxide), thus limiting their catalytic effect (Cardon 2007; Gál et al. 2014; Neevel and Reissland 1997; Tímár-Balázsy et al. 1998). Deacidification can take place in aqueous and non-aqueous media. Aqueous deacidification processes can, for example, employ magnesium or calcium hydrogen carbonate. In anhydrous processes, a solution of methoxymagnesium methylcarbonate (MMMK) in methanol can be employed, where an alkaline reserve is created in the form of basic magnesium carbonate (MgO Mg(OH)2 MgCO3) (Gál et al. 2014; Havlínová et al. 2010). Both approaches have in common that they lead to the formation of an alkaline reserve, causing the surface pH to increase above the isoelectric point of fibroin. The isoelectric point of fibroin lies in the pH region 3–7 and silk is most stable in this region. Thus, the stability of silk in the alkaline region must be assessed before using stabilization procedures that entail deacidification and the formation of an alkaline reserve.
Antioxidants generally inhibit oxidation processes even long-term (Kolar et al. 2008; Malešič et al. 2014; Mcclements, Decker, and Elias 2010; Sato et al. 2011). Either they directly decompose peroxides formed during oxidation or they act as chelating agents that bond transition elements in complexes and thus limit their catalytic activity. The antioxidant used most widely in conservation and stabilization of iron-gall inks is calcium or magnesium phytate. Phytate acts as a chelating agent and binds free ferrous ions in a complex. This method takes place in aqueous medium. Antioxidants that can be used in non-aqueous media and exhibit good results in stabilization of iron-gall inks include bromide quaternary ammonium compounds, e.g., tetraalkylammonium bromides proposed by Kolar et al. (2008) and Maitland (2009).
The combination of deacidification and antioxidants is also used (Neevel and Reissland 1997; Reissland, Scheper, and Fleischer 2007). The most effective approach is the so-called calcium phytate method. This method takes place in aqueous medium by immersing the paper in a phytate solution and subsequent deacidification in calcium hydrogen carbonate. Deacidification, the use of antioxidants and their combinations were tested by Sato on model samples of black silk (Sato et al. 2011). The employed antioxidants were phytic acid and cysteine, while the deacidification was carried out with magnesium hydrogen carbonate. The best result in the stabilization of silk was found for a combination of deacidification and the application of phytic acid.
The use of deacidification and antioxidants was tested for stabilizing black silk in this study. The main goal was stabilization of the textile cords of seals and thus non-aqueous processes were chosen, which enable the application with a brush or spraying as to minimalize migration of the stabilization agent along the cord towards the document or seal. In addition, aqueous processes were selected that can be applied with a brush on the textile after prior separation from the other parts of the archive material (document and seal). A melt of cyclododecane can be used to separate the cord from the seal and document.
2 Experimental
2.1 Effect of the pH on Silk Properties
First the stability of silk in the alkaline region was tested. Samples of uncoloured silk (15 × 30 cm) were immersed in solutions with pH 7, 8, 9 and 10 and left at laboratory temperature for three weeks. The pH was buffered by different ratios of 0.1 M NaOH and 0.1 M H3BO3 in 0.1 M KCl.
The effect of the pH on the properties of silk was evaluated on the basis of measuring the optical properties, limiting viscosity number and thread tensile strength. The samples were stored at ambient conditions for 14 days before the measurements.
2.2 Effectiveness of Stabilization of Damaged Black Silk
The long-term effectiveness of selected stabilization procedures was tested on samples of black silk containing unbound Fe2+ ions. The effectiveness of the stabilization procedure for these samples was evaluated after artificial ageing on the basis of measuring the optical properties, mechanical properties, pH of the surface, studying the surface of the fibres using SEM and determining the presence of unbound Fe2+ ions in the samples.
2.2.1 Dyeing Silk Black
The procedure for dyeing silk textile (Habutai; plain weave, 43 g/m2, thread count 50 threads/cm, in the warp and weft, supplier Zdeněk Volf, CZ) was based on Wilson, Carr, and Hacke (2012). The silk was dyed in several steps, the first step was soaking in a FeSO4 solution (bath A), after which the textile was immersed in a tannin solution (bath B). Then these two steps were repeated. Finally, the textile was immersed once more in a FeSO4 solution with a lower concentration (bath C), see Table 1.
The recipe for dyeing silk to a black colour.
| Textile: Bath | Bath A | Bath B | Bath C | Procedure |
|---|---|---|---|---|
| 5.4 g: 1 l | 3 g/l FeSO4, 55 °C, 1 h | 6.5 g/l tannin, 55 °C, 3 h | 1.4 g/l FeSO4, 55 °C, 1 h | A B A B C |
2.2.2 Damaging Black Silk
For evaluating the tested stabilization procedures, it was necessary to prepare samples of black silk that contained unbound Fe2+ ions. Thus, the black silk samples were doped with Fe2+ ions. The samples of black silk were immersed in 0.5% ferrous sulphate solution for 5 min without subsequent rinsing. After one week, the samples were checked for the presence of Fe2+ ions using the batho-phenanthroline test, which was positive.
2.2.3 Procedures for Stabilizing Silk
MMMK – a methanol solution of methoxymagnesium methylcarbonate was selected for the deacidification. After applying this solution with a brush on both sides of the sample, there was an increase in the pH of the surface from 5 to ca. 8.
Tannin – unbound Fe2+ ions are bonded in a complex. The composition of the solution was determined on the basis of preliminary tests to balance minimal water content with maximum iron complexing ability resulting in a negative test for unbound Fe2+ ions after the application. The surface pH of the sample was 3–4 after the application of a tannin solution.
Cysteine – chelating agent, the concentration was selected according to Sato et al. (2011).
TBABr – solution of tetrabutylammonium bromide in methanol; non-aqueous antioxidant. The TBABr concentration was chosen according to studies dealing with stabilization of texts written using iron-gall inks (Kolar et al. 2008). As the textiles are dyed over their entire surface area, the recommended concentration for stabilization of iron-gall inks was modified. Pictorial analysis was employed to calculate the area that is covered, on an average, by the text on a certain area of the paper. Then the concentration of TBABr was calculated to ensure a sufficient antioxidant effect for the textile dyed over its entire area.
Calcium phytate method – successfully used in the stabilization of iron-gall inks. This is a method that requires first immersion of the archival material in a solution of calcium phytate (ca. 10 min), followed by immersion in a solution of calcium hydrogen carbonate with the aim to form an alkaline reserve (Reissland 2007). This procedure cannot be employed for the stabilization of textile cords of seals because of the prolonged immersion in these baths. This procedure was thus used only for comparison. The method was modified for application to textile cords of seals, see the procedure denoted phyt + MMMK (a solution of calcium phytate was applied with a brush following by deacidification using a MMMK solution to achieve surface pH 8).
The doped black silk samples (15 × 30 cm) were stabilized by the following procedures:
MMMK – applied with a brush on both sides by 2.5% MMMK in methanol
tannin – applied with a brush on both sides by a 0.6% tannin solution in (H2O:EtOH = 1:3); pH of the solution = 4.9
tannin + MMMK – applied with a brush on both sides by a tannin solution and subsequent brush-application on both sides by 2.5% MMMK in methanol
cys1 – applied with a brush on both sides by an aqueous solution of cysteine (0.01 mol/l; pH = 4.3)
cys2 – applied with a brush on both sides by an aqueous solution of cysteine (0.1 mol/l; pH = 4.5)
cys1 + MMMK – applied with a brush on both sides by an aqueous solution of cysteine (0.01 mol/l) and subsequent coating on both sides by 2.5% MMMK in methanol
cys2 + MMMK – applied with a brush on both sides by an aqueous solution of cysteine (0.1 mol/l) and subsequent coating on both sides by 2.5% MMMK in methanol
TBABr – applied with a brush on both sides by 0.6 mol/l TBABr in methanol
phyt + MMMK – applied with a brush on both sides by a calcium phytate solution (1.75 mmol/l) and subsequent coating on both sides by 2.5% MMMK in methanol
phytate – immersion in a calcium phytate solution (1.75 mmol/l) and subsequent deacidification in a calcium bicarbonate solution (0.1%)
2.3 Artificial Ageing
Samples of doped black silk and stabilized doped black silk were artificially aged:
by dry heat according to ISO 5630/1 (105 °C, 21 days), Memmert UFE 500 (Germany)
by moist heat according to ISO 5630/3 (80 °C, 65% RH, 21 days), Memmert CTC 256 (Germany)
by light (artificial daylight enriched with UV component, light intensity 5.2 klx, energy of the UV component 13 W m−2, 38 °C, 16% RH, 14 days), Artechnic (CZ) light chamber
2.4 Methods of Studying the Properties of Silk
2.4.1 Optical Properties
The colour was measured in the CIELAB colour space, using a CM-700d spectrometer (Konica Minolta), always at the same 10 places of the sample before and after artificial ageing (or after exposure to various pH values). The total colour difference (
where
2.4.2 Determining the Limiting Viscosity Number
A decrease in the viscosity number is a sensitive indicator of degradation of the textile fibre macromolecules. The method is sensitive even at a low degree of degradation. The limiting viscosity number was determined viscometrically in a capillary Ubbelohde viscometer according to standard SNV 195 595 (LiBr solvent). The result is the arithmetic mean of two parallel determinations.
2.4.3 Thread Tensile Strength
The thread tensile strength is reduced only at a higher degree of degradation and the method is not as sensitive as determination of the limiting viscosity number. The thread tensile strength was measured on the basis of standard ISO 1805 on a LabTest 5.030-2 (Labortech, CZ) universal testing machine; thread gauge length 10 cm, jaw speed 50 mm/min, 10 weft threads were measured. The measuring error is expressed as the sample standard deviation.
2.4.4 Textile Flexural Rigidity
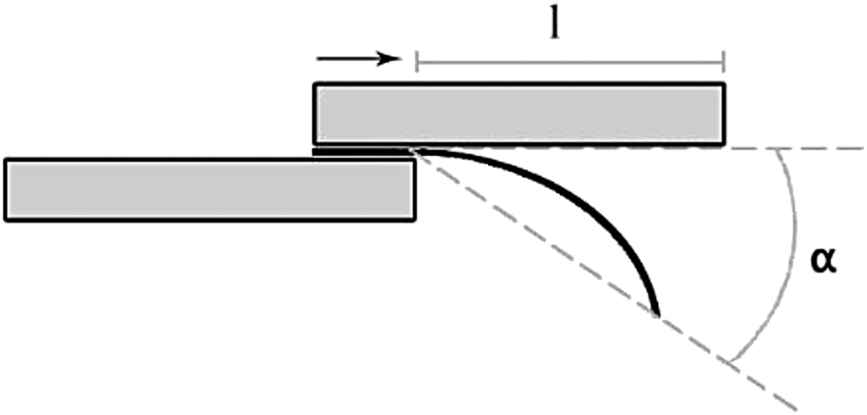
The textile rigidity affects its natural flexibility. Elevated rigidity can decrease the resistance of the textile to mechanical damage. The rigidity was measured on the basis of standard DIN 53362_2 on automated measuring equipment (Polymertest, CZ). Strips 20 mm wide and approximately 150 mm long (in the weft direction) were prepared. The flexural rigidity of the textile is measured by the length of the strip (in mm) required to bend the fabric by 41.5° (Figure 2). Flexural rigidity (G) per unit width is expressed in mN cm (Eq. 2). Six measurements were performed for each set. The measuring error is expressed as the sample standard deviation.
where G is the flexural rigidity per unit width, in mN cm; mF is the mass of the sample per unit area, in g m−2; lo is the overhanging length of the specimen in cm; and gn is the acceleration due to gravity, in m s−2.

Scheme of flexural rigidity measurement according to DIN 53362_2, side view: l – measured distance, α – bending angle of the textile strip (41.5°).
2.4.5 pH Value of the Surface
The pH value of the silk surface was measured after treatment and after ageing by a combined electrode for surface measurement using an inoLab pH7310 pH meter (WTW, Germany). The measured area was soaked in 0.5 ml of distilled water and the measurement was carried out at five various places on the sample.
2.4.6 Determining the Presence of Unbound Fe2+ (Bathophenanthroline Test)
The presence of unbound Fe2+ ions in the samples was determined using the batho-phenanthroline test. Bathophenanthroline (4,7-diphenyl-l,10-phenanthroline) is a water insoluble complexometric indicator for iron in oxidation state 2+. It reacts with ferrous ions to form a red complex.
Preparation of testing strips – filter paper was impregnated with a saturated ethanol solution of bathophenanthroline and subsequently dried and cut into strips with dimensions of ca. 0.5 × 1 cm.
Testing – a dampened test strip was applied to the surface of the textile. If migrating ferrous ions are present in the material, the strip turns red.
2.4.7 Studying the Surface and Damage to Fibres
Electron scanning microscope TESCAN VEGA 3 with EDS analyzer Oxford Instruments INCA 350 was used to study the surface of the fibres following doping the samples, after stabilization and after artificial ageing. The EDS analyzer was used to identify deposits on the surface of the fibres.
3 Results and Discussion
3.1 Effect of the pH on the Properties of Silk
The silk samples that were exposed to solutions with pH 7, 8 and 9 exhibited only a small change in colour compared to the standard (untreated silk textile). Samples exposed to a medium with pH 10 were at the borderline between a small and significant colour change (Figure 3); however, this change is at the borderline of visibility to the naked eye.

The effect of the pH on the total colour changes of the silk.
Media with various pH values did not significantly affect the thread strength of the silk. Within the measuring error, these values were comparable with the thread strength of the untreated silk (0.40 ± 0.04 N/tex).
It can be seen from Figure 4 that media with pH 7, 8, 9 and 10 did not substantially affect the viscosity of silk solutions and thus no substantial damage occurred. These results correspond to the results of measurements of the thread strength and colorimetry.

The effect of the pH on the limiting viscosity number of silk.
On the basis of the obtained results, it can be concluded that there was no change in the studied silk properties after prolonged immersion in media with pH 7, 8, and 9. At pH 10 there was only a slight change in the silk colour. Thus, in further work, the deacidification process could be used in stabilization of black silk containing unbound ferrous ions. The deacidification process was monitored by measuring the pH of the surface and selected so that the final pH value did not exceed 9.
3.2 Effectiveness of the Stabilization and its Effect on the Damaged Black Silk
The application of the stabilizing solutions to the black silk containing unbound ferrous ions mostly resulted to a colour change (Figure 5). The greatest colour changes occurred for samples treated with cysteine at higher concentrations, both deacidified and non-deacidified. Visible white spots appeared on these samples, probably caused by an excess of cysteine. Also high amount of TBABr caused white spots; the concentration of TBABr was higher than the one recommended for paper conservation because of higher content of dye in the textile.

The total colour changes of doped black silk after stabilization.
Figure 6 depicts the changes in the colour of black silk containing unbound ferrous ions after treatment and artificial ageing. In general, there was a greater colour change after ageing with dry heat. Ageing by moist heat and light lead to the greatest colour change in samples treated with higher concentrations of cysteine, in agreement with the colour change after treatment that was connected with the formation of spots on the sample surface after treatment. For samples treated with TBABr, the colour change after artificial ageing was substantial (ΔE*ab = 16), and thus it is not designated in Figure 6.

The total colour changes of treated samples after artificial ageing.
The doping of black silk with Fe2+ ions led to an increase it its flexural rigidity (Figure 7). Crystals of ferrous salts probably adhere to the inter-weave spaces of the textile and thus increase its flexural rigidity. After stabilization of the doped samples, this did not change in most cases, with only a slight increase after application of MMMK. There was a substantial change in the flexural rigidity in samples treated by the calcium phytate method, where the rigidity decreased to the original value for the black silk. This method probably led to the removal of water-soluble compounds and thus to reduction of the flexural rigidity of the textile to the original value. This appeared also after artificial ageing (Figure 7). The flexural rigidity of the sample treated by the calcium phytate method after artificial ageing was comparable with the rigidity of black silk. The trends are similar for ageing by moist heat and light.

The flexural rigidity of samples after doping with Fe2+ ions, after treatment and after ageing by dry heat.
No further increase in the flexural rigidity occurred in the other samples after artificial ageing, which is desirable, because an increase in the rigidity of the textile leads to a loss of flexibility and increased fragility, and thus greater tendency to fractures and tearing.
The thread strength decreased after artificial ageing, with the greatest change for moist heat ageing (Figure 8). In samples treated with TBABr, the tensile strength of the threads after moist heat ageing was so low that it could not be determined. Samples treated by the calcium phytate method exhibited almost the same tensile strength for all types of artificial ageing as the untreated black silk samples. Following ageing by moist heat, the greatest effects of the treatments can be seen on the tensile strength of the doped samples. The lowest tensile strength was obtained for untreated samples doped with Fe2+ ions. Similarly, low strength was obtained for samples treated with tannin and more concentrated cysteine (without deacidification). Deacidification of samples with MMMK led to a stabilization of their strength and the values approached the strength of non-doped black silk or samples treated by the calcium phytate method.

The tensile strength of the threads in the samples before and after artificial ageing.
The results for the thread tensile strength correspond well to the details of fibre damage that were observed using a scanning electron microscope (Figure 9). The damage to the fibres after doping with Fe2+ ions and after artificial ageing are clearly visible in Figure 9a and b. The silk fibres are separated, leading to a reduction in strength. On the other hand, stabilization of the doped samples by MMMK after artificial ageing did not lead to fibre separation (Figure 9c). Tiny spots on the fibres were identified as crystals of basic magnesium carbonate. Similarly, after treating the doped samples by the calcium phytate method (Figure 9d) and after artificial ageing, the silk structure is smooth without substantial indications of fibre separation. Similar results are obtained after treatment with phytate + MMMK (Figure 9e). On the other hand, Figure 9f shows clear fibre damage after treatment with TBABr and artificial ageing; the fibres are split and thus their strength decreased substantially. In Figure 9g, cysteine clusters are clearly visible, causing a substantial colour change with negative effect on the fibre properties.

Fibre damage observed by scanning electron microscope. (a) Doped with Fe2+; (b) Doped with Fe2+ – moist heat; (c) MMMK – moist heat; (d) Phytate – moist heat; (e) Phytate + MMMK – moist heat; (f) TBABr – moist heat; (g) Cys2 – moist heat.
On the basis of these findings, it can be concluded that the presence of unbound Fe2+ ions in the silk weakens its resistance to artificial ageing. On the other hand, deacidification leads to its stabilization and the thread strengths of the deacidified samples are greater than in the undeacidified samples (Figure 8). This is also connected with the presence of unbound Fe2+ ions after treatment and after artificial ageing.
The bathophenanthroline test was used to determine the presence of unbound Fe2+ ions in all the samples. After the treatment and after a week of storage under laboratory conditions, Fe2+ ions were detected only for the doped untreated sample and samples treated with both concentrations of cysteine. The test was negative for all the other samples. After all types of artificial ageing, a positive test was found for the doped untreated sample and for samples treated with both concentrations of cysteine without deacidification. Further, the presence of Fe2+ ions was detected for samples treated with tannin without subsequent deacidification after dry ageing.
The results of determination of the presence of unbound Fe2+ ions are in accordance with the measurement of the pH of the surface of the samples after treatment and after artificial ageing (Figure 10). Deacidification leads to stabilization and the pH of the surface of the sample is in the alkaline region. In this region, the Fe2+ ions are oxidized to form ferrous hydroxyoxide, which does not have catalytic action and thus the effects of the degradation reaction are reduced.

pH of the sample surfaces before and after artificial ageing.
4 Conclusion
It is apparent from the obtained results that the calcium phytate method provides the best stabilization effects. After artificial ageing, samples stabilized by this method exhibited similar properties to samples of undamaged black silk. Unfortunately, this procedure, involving prolonged immersion of the samples in the individual reagents, cannot be maintained or recommended for stabilization of textile cords of seals. Thus, for application to textile cords, this method was modified so that it could be applied locally by brush application on the sample (first with calcium phytate followed by with MMMK). Nonetheless, the resultant properties of these treated samples did not differ greatly from those of samples treated with only MMMK and thus the advantage of application of phytate is, at the very least, a matter for discussion.
The tested antioxidants in the absence of subsequent deacidification did not have a substantial effect on stabilization of damaged black silk in the long term. After application, cysteine formed visible white spots on the samples, which became even more apparent after artificial ageing. Its chelating effect was also not demonstrated in relation to the presence of unbound Fe2+ ions after artificial ageing. Even the application of tannin did not result in a substantial improvement in the silk properties; in this case, unbound Fe2+ ions were once again detected in the samples after artificial ageing. All the studied silk properties deteriorated when the antioxidant TBABr was used.
From the long-term point of view, the deacidification process can be recommended for stabilization of damaged black silk. It was verified that prolonged exposure to a medium with pH 8–9 does not damage the silk. In alkaline media, unbound Fe2+ ions are oxidized to Fe3+ (ferric hydroxyoxide), thus reducing their catalytic affect with an increase in the resistance of the silk to degradation processes.
References
Ahn, K., U. Hennniges, G. Banik, and A. Potthast. 2012. “Is Cellulose Degradation Due to β-elimination Processes a Threat in Mass Deacidification of Library Books?” Cellulose 19: 1149–59, https://doi.org/10.1007/s10570-012-9723-3.Suche in Google Scholar
Cardon, D. 2007. Natural Dyes: Sources, Tradition, Technology and Science. London: Archetype.Suche in Google Scholar
Gál, L., M. Ciglanská, M. Čeppan, B. Havlínová, V. Jančovičová, and M. Reháková. 2014. “Chemické Aspekty Degradácie Historických Dokumentov So Železogalovým Atramentami.” Chemicke Listy 108: 191–7.Suche in Google Scholar
Havlínová, B., V. Jančovičová, H. Paulusová, and M. Ďurovič. 2010. “Influence of Antioxidant and Neutralization on Stability of Historical Document Models with Iron-Gall Ink.” Acta Chimica Slovaca 3 (2): 93–109.Suche in Google Scholar
Kolar, J. A., A. Možir, A. Balažic, M. Strlič, G. Ceres, V. Conte, V. Mirruzzo, T. Steemers, and G. de Bruin. 2008. “New Antioxidants for Treatment of Transition Metal Containing Inks and Pigments.” Restaurator 29 (3): 184–98, https://doi.org/10.1515/rest.2008.013.Suche in Google Scholar
Krekel, C. 1999. “Chemische Struktur historischer Eisengallustinten”, in: Tintenfraßschäden und ihre Behandlung. Banik, G. and H. Weber (eds.), Werkhefte der staatlichen Archivverwaltung Baden-Württemberg, Serie A Landesarchivdirektion, Heft 10, Kohlhammer Stuttgart, 1999, 25–36.Suche in Google Scholar
Maitland, C. 2009. “Where Archival and Fine Art Conservation Meet: Applying Iron Gall Ink Antioxidant and Deacidification Treatments to Corrosive Copper Watercolors.” The Book and Paper Group Annual 28: 37–45.Suche in Google Scholar
Malešič, J., M. Šala, V. S. Šelih, and D. Kočar. 2014. “Evaluation of a Method for Treatment of Iron Gall Ink Corrosion on Paper.” Cellulose 21: 2925–36, https://doi.org/10.1007/s10570-014-0311-6.Suche in Google Scholar
Mcclements, D. J., E. Decker, and R. J. Elias. 2010. “Oxidation in Foods and Beverages and Antioxidant Applications.” Philadelphia: Woodhead Pub. Woodhead Publishing in food science, technology, and nutrition. Available at: https://app.knovel.com/hotlink/toc/id:kpOFBAAVU7/oxidation-in-foods-beverages-2/oxidation-in-foods-beverages-2.Suche in Google Scholar
Neevel, J. A., and B. Reissland. 1997. “The Ink Corrosion Project NICH a Review.” Abbey Newsletter 21 (5–6): 88–92.Suche in Google Scholar
Potthast, A., U. Henniges, and G. Banik. 2008. “Iron Gall Ink-Induced Corrosion of Cellulose: Aging, Degradation and Stabilization. Part 1: Model Paper Studies.” Cellulose 15: 849–59, https://doi.org/10.1007/s10570-008-9237-1.Suche in Google Scholar
Reissland, B., K. Scheper, and S. Fleischer. 2007. Phytate – Treatment [online] [cit. 2020-05-20]. https://irongallink.org/igi_index3401.html.Suche in Google Scholar
Sato, M., S. Okubayashi, and M. Sato. 2011. “Development of Conservation Procedures for Late Edo Period Japanese Ceremonial Dolls’ Hair: Evaluation of Effective Treating Reagents by Using Artificially Degraded Black-Dyed Silk Fibres.” Journal of Cultural Heritage 12: 157–63, https://doi.org/10.1016/j.culher.2010.09.006.Suche in Google Scholar
Tímár-Balázsy, A., and D. Eastop. 1998. Chemical Principles of Textile Conservation. 1st ed., 443 Oxford: Butterworth-Heineman.Suche in Google Scholar
Wilson, H., Ch. Carr, and M. Hacke. 2012. “Production and Validation of Model Iron-Tannate Dyed Textiles for Use as Historic Textile Substitutes in Stabilisation Treatment Studies [online].” Chemistry Central Journal 6 [cit. 2018-01-15], https://doi.org/10.1186/1752-153X-6-44.Suche in Google Scholar
© 2021 Walter de Gruyter GmbH, Berlin/Boston