Home Terminology of electrochemical methods of analysis (IUPAC Recommendations 2019)
Article Open Access

Terminology of electrochemical methods of analysis (IUPAC Recommendations 2019)

  • José M. Pingarrón , Ján Labuda , Jiří Barek , Christopher M. A. Brett , Maria Filomena Camões , Miroslav Fojta and D. Brynn Hibbert ORCID logo EMAIL logo
Published/Copyright: April 10, 2020

Abstract

Recommendations are given concerning the terminology of methods used in electroanalytical chemistry. Fundamental terms in electrochemistry are reproduced from previous PAC Recommendations, and new and updated material is added for terms in electroanalytical chemistry, classification of electrode systems, and electroanalytical techniques.

1 Preface

The recommendations contained in this document complete the terminology of electroanalytical methods. The terms represent a revised version of those included in previous IUPAC recommendations [1], [2], [3] and the corresponding chapter of the IUPAC Orange Book, the third edition of the Compendium of Analytical Nomenclature [4].

These Recommendations will become a chapter in the revised Orange Book (now titled the Compendium of Terminology in Analytical Chemistry, 4th edition) [5].

2 Introduction

The analytical methods classified in this chapter include those in which electrochemical processes or phenomena are the core of the measurement principle [VIM 2.4] involving electrochemical cells providing qualitative and quantitative responses. These responses can be calibrated in terms of concentrations. Typical examples are given in Table 2.1.

Table 2.1:

Kinds of methods of electroanalytical chemistry based on quantities controlled and measured. I is the symbol for electric current, E is the symbol for electrode potential and Q is the symbol for electric charge [6].

Method Quantity measured Quantity controlled
potentiometry E I=0
amperometry I E
voltammetry I=f(t) E=f(t)
direct coulometry Q = t 1 t 2 I ( t ) d t E=constant
conductometry conductivity (κ)
impedimetry electrical impedance (Z) E=constant+f(t)

Combined methods, such as spectroelectrochemical techniques and electroanalytical methods coupled to separation methods, may be defined here or in the relevant chapters of the fourth edition of the Orange Book [5] or in IUPAC Recommendations (e.g. [7]).

Terms defined in the International Vocabulary of Metrology – Basic and general concepts and associated terms (VIM) [8] are given in italics on first use in a section and are referred to as [VIM x.y]. Other terms in italics refer to terms defined within this paper. Basic electrochemical terms are taken from the Green Book, 3rd edition [6], with changes made only to formatting. When referencing sources of terms, “Source [ref] p xyz” is used in the sense that information is taken from it.

3 Fundamental electrochemical terms

Terms in this section are reproduced from IUPAC Recommendations [1], where the number that follows, if present, is the entry number of the term, and from the Green Book [6], with either no changes or only minor changes to formatting.

3.1 anode

Electrode of an electrochemical cell through which net electric current flows and at which the predominating electrochemical reaction is an oxidation.

  1. At an anode, electrons are produced in a galvanic cell or extracted in an electrolytic cell.

  2. The concepts of “anode” and “cathode” are related only to the direction of electron flow, not to the polarity of the electrodes.

Source: [6] p 75.

3.2 apparent number of electrons transferred, zapp

See electron number of an electrochemical reaction

3.3 applied potential, Eapp

deprecated: voltage

Difference of electric potentials measured between identical metallic leads to two electrodes of an electrochemical cell.

  1. The applied potential is divided into a) two electrode potentials, each of which is the difference of potential existing between the bulk of the solution and the interior of the conducting material of the electrode, b) an IR or ohmic potential drop through the solution of resistance R at electric current I, and c) another ohmic potential drop through each electrode and its metallic leads. The definition of Galvani and Volta potential differences can be found on p. 70 and p. 71 in [6].

  2. Single electrode potentials relative to hypothetical standards, such as vacuum zero, are not experimentally accessible.

Source: [1].

3.4 cathode

Electrode of an electrochemical cell through which net electric current flows and at which the predominating electrochemical reaction is a reduction.

  1. The concepts of “anode” and “cathode” are related only to the direction of electron flow, not to the polarity of the electrodes.

Source: [6] p 75.

3.5 electric charge, Q

quantity of electricity

Integral of electric current over time.

Q = I d t

  1. In electrolysis, the electrooxidation of an electroactive substance results in positive values of Q; the electroreduction of an electroactive substance gives rise to negative values of Q.

  2. The components of an overall value of Q should be named and given symbols similar to those of the corresponding electric current, e.g., QDL: double-layer charge, Qt: instantaneous charge, etc.

Source: [6] p 4.

3.6 electric current

current

Phenomenon associated with the movement of charged particles (for example electrons, ions).

3.7 electric current (quantity), I

current

Rate at which electric charge (Q) is passed. I=dQ/dt

  1. Electric current is a base quantity in the International System of Quantities [9].

  2. By convention [10], current due to electrooxidation has a positive sign and that due to electroreduction has a negative sign.

  3. The SI unit of electric current is the ampere, symbol A.

Source: [6] p 72.

Electric current may be qualified according to the nature of the charged species, the nature of the electrochemical process, or the instrumental method. These are summarized in Table 3.7-1.

Table 3.7-1:

Definitions of terms for kinds of electric current of importance in analytical chemistry. The SI unit of electric current is ampere (A).

Term Symbol Definition Reference (notes) Note
adsorption current I ads Electric current that accompanies adsorption of a species. [1] (1)
alternating current I ac Electric current having a sinusoidal wave form that changes direction during a cycle. [1]], [[11] p 22 (2)
catalytic current I cat Faradaic current measured in a solution containing two electroactive substances, A and B, that exceeds the sum of the faradaic currents that would be obtained for A and B separately under the same experimental conditions. (3)
double-layer current,

charging current
I DL Non-faradaic current associated with the charging of the electrical double layer at an electrode-solution interface.
diffusion current I d Faradaic current that is controlled by the rate at which electroactive species diffuse toward (or away from) an electrode-solution interface. [1] (4)
direct current I dc Electric current that flows in a constant direction, i.e. a current with constant sign. [1]], [[11] p 160 (5)
faradaic current I f Electric current that results from the electrooxidation or electroreduction of an electroactive substance. [1] (6)
kinetic current I k Faradaic current of an electroactive substance B formed by a prior chemical reaction from another substance Y that is not electroactive at the potential at which B is electrochemically transformed. [1] (7)
net faradaic current I Algebraic sum of faradaic currents flowing through an electrode. [1]
instantaneous current It Value of the electric current at an instant in time t. [1] (8)
limiting current I lim Faradaic current that is approached as the rate of the charge-transfer process is increased by varying the potential. [1] (9)
diffusion-limited current,

limiting diffusion current,
I d,lim Diffusion current of the potential-independent value that is approached as the rate of the charge-transfer process is increased by varying the applied potential, being greater than the rate of mass transport controlled by diffusion. [1]
migration current I m Component of electric current due to transport of ions in the electric field between the electrodes. [1] (10)
peak current I p In dynamic voltammetric techniques, the maximum value of the faradaic current attained by varying the applied potential in the current-potential or I-E curve. [1] (11)
residual current,

background current
I r Electric current that flows, at a particular value of the applied potential, in the absence of the substance whose electrode behaviour is being investigated, i.e. in a “blank” solution. [1] (12)
square-wave current I SW Component of an electric current that is associated with the presence of an analyte in square-wave voltammetry. [1] (13)
  1. The terms “adsorption current” and “limiting adsorption current” should not be applied to faradaic currents that have been increased or decreased by adding a non-electroactive surfactant to a solution containing an electroactive substance, nor to currents resulting from the effect of adsorption or desorption on double-layer currents.

  2. The amplitude of an alternating current is half the peak-to-peak difference of the sinusoidal current.

  3. In either of the two following situations, the current increase is termed a catalytic current:

    1. The scheme below generates a catalytic or regenerative current:

      B±eBB+AB

    2. The presence at the electrode-solution interface of a substance, which may be added or generated by an electrochemical reaction, decreases the overpotential for the electrochemical reaction of B.

    In either case, the magnitude of the catalytic current depends on the applied potential. If the current observed with a mixture of A and B is lower than the sum of the separate currents, the term non-additive current should be used.

  4. Diffusion current is governed by Fick’s Laws of diffusion. It is the principle on which many electroanalytical methods are based, because the current is proportional to the bulk concentration of the diffusing species. Id=zFAD(cx)x=0, where z is the electron number of an electrochemical reaction, F the Faraday constant, A the electrode surface area, D the diffusion coefficient of electroactive substance, and (∂c/∂x)x=0 the gradient of the amount concentration at the electrode surface position x=0.

  5. The term ‘direct current’ should be used where there is ambiguity concerning the constancy of direction of current. See alternating current.

  6. Current that is produced by other processes, for example by diffusion of charged species, is termed ‘non-faradaic current’.

  7. The kinetic current is partially or entirely controlled by the rate of the chemical reaction. This reaction may be heterogeneous, occurring at an electrode-solution interface (surface reaction), or it may be homogeneous, occurring at some distance from the interface (bulk reaction).

  8. The instantaneous current is usually time-dependent and may have the character of an adsorption current, catalytic current, diffusion current, double-layer current, or kinetic current, and may include a migration current. A plot of the dependence of instantaneous current on time is commonly called an “I-t curve”.

  9. A limiting current is reached when the overpotential is sufficiently large that the faradaic current is determined solely by the ability to supply electroactive species by mass transport. A limiting current is therefore independent of applied potential over a corresponding finite potential range. A limiting current may have the character of an adsorption, catalytic, diffusion, or kinetic current, and may include a migration current.

  10. The sign convention regarding current is such that the migration current is positive for the oxidation of a cation or the reduction of an anion and is negative for the reduction of a cation or for the oxidation of an anion. Hence, the migration current may either increase or decrease the total current observed. The migration current approaches zero as the transport number of the electroactive substance is decreased by increasing the concentration of supporting electrolyte, and hence the conductivity of the solution.

  11. Since the concentration of an electroactive substance at the electrode-solution interface decreases monotonically, the faradaic current due to its electrooxidation or electroreduction increases monotonically with time because of the increasing concentration gradient of the electroactive substance, the concentration of which remains constant in the bulk. The maximum current value is passed when the transport rate of electroactive substance to the electrode-solution interface starts to be lower than the rate at which it is removed by reaction at the electrode. The result of these two competing processes leads to the peak-shaped I-E dependence.

    Typical examples of imposed potential programmes in dynamic voltammetric techniques resulting in peak-shaped responses are linear-scan voltammetry, cyclic voltammetry, ac voltammetry, differential pulse voltammetry, square-wave voltammetry, stripping voltammetry, and derivative techniques.

  12. The residual (or background) current may be subtracted from the total current to calculate the net faradaic current.

  13. The component may be faradaic (if the analyte is electroactive) or non-faradaic (if the analyte is surface-active). The simultaneous occurrence of both effects is quite common.

3.8 electrochemical cell

System that consists of at least two electron conductors (electrodes) in contact with ionic conductors (electrolytes).

  1. The two electrodes may be a working electrode and an auxiliary electrode or, for zero-current measurements (potentiometric mode), an indicator electrode and a reference electrode. There may be a third electrode, the cell having a separate auxiliary electrode (to carry current) and reference electrode (for measurement of electrode potential) in addition to a working electrode (See three-electrode cell).

  2. The current flow through the electrochemical cell may be zero or non-zero. An electrochemical cell with current flow can operate either as a galvanic cell or as an electrolytic cell.

  3. In electrochemistry the term “cell” is commonly qualified to describe the particular device on which electrochemical reactions take place. Examples of galvanic and electrolytic cells are standard cells, electrochemical sensor cells, conductivity cells, spectroelectrochemical cells, fuel cells, batteries, electrochemical measuring cells, and two- and three-electrode cells.

  4. If processes of interest occur at both the anode and the cathode of a cell (as in differential amperometry or controlled-current potentiometric titration with two indicator electrodes), the cell should be said to comprise two indicator or two working electrodes.

Source: [6] p 73.

3.9 electrochemical constants

In May 2019, certain fundamental constants that had been measured in SI units have had their numerical values fixed, with no uncertainty, thus defining the units. Of importance to electroanalytical chemistry are the values of the Boltzmann constant, the elementary charge, and the Avogadro constant. These are given in Table 3.9-1, with calculated values of the Faraday constant (F=e·NA) and gas constant (R=k·NA).

Table 3.9-1:

Values of constants of importance to electrochemistry in the SI after 20 May 2019.

Constant Symbol numerical value unit
elementary charge e 1.602 176 634×10−19 C
Boltzmann constant k 1.380 649×10−23 J K−1
Avogadro constant N A 6.022 140 76×1023 mol−1
Faraday constant F 9.648 533 21×104 C mol−1
molar gas constant R 8.314 462 62 J K−1 mol−1
  1. Source: [12].

3.10 electrode

  1. Electron conductor in an electrochemical cell connected to the external circuit.

  2. Half-cell consisting of at least one electron conductor and at least one ionic conductor (electrolyte).

  1. The current flow through electrochemical cells may be zero or non-zero. An electrochemical cell with current flow can operate either as a galvanic cell or an electrolytic cell.

  2. In some electroanalytical techniques (conductometry and differential potentiometry), two indicator electrodes are used. For many analytical measurements in cells with current flow, a three-electrode cell is used.

  3. Many types of electrodes are used. These may be classified into groups according to their composition, form and size, and according to their operating mode. See section 4.

Source [6] p 73. Also see anode, cathode, polarizable and non-polarizable electrodes, Classification of electrodes by function (working electrode, reference electrode, auxiliary electrode).

3.11 electrode potential, E, U

Electric potential at an electrode, reported as the difference in potential relative to a reference electrode.

  1. The absolute value of the electrode potential cannot be measured, so E is always reported relative to the potential of a reference electrode, e.g. that of a standard hydrogen electrode (SHE). The concept of an absolute electrode potential is discussed in [13].

Source [6] p 71. Classification of electrodes by function.

3.12 electrolyte

  1. Conducting medium in which the flow of electric current is accompanied by the movement of ions.

  2. Substance that provides ions on dissolution in a solvent or on melting.

  1. An ionic liquid is an electrolyte composed of a salt that is liquid below 100 °C. Ionic liquids have found uses in electrochemical analysis, because their unconventional properties include a negligible vapor pressure, a high thermal and electrochemical stability, and exceptional dissolution properties for both organic and inorganic chemical species [14].

  2. A solid electrolyte is a solid material where the predominant charge carriers are ions. For example: NASICON (Na Super Ionic Conductor), which has the general formula Na1+xZr2P3-xSixO12, 0<x<3.

Source: [11] p 300.

3.13 electrolytic cell

Electrochemical cell in which electrical energy is converted into chemical energy.

Source: [6] p 73.

3.14 electron number of an electrochemical reaction, z

number of electrons transferred

charge number

Number of electrons transferred in a charge transfer reaction between an electrode and a single entity (ion, radical-ion, or molecule) of an electroactive substance, whose identity must be specified.

  1. The apparent number of electrons transferred, zapp, represents the experimentally measured number of electrons transferred between an electrode and one electroactive substance species, whose identity must be specified. When the electrooxidation or electroreduction of a substance B is accompanied by chemical processes, such as the catalyzed or induced reduction of a second substance, or a side reaction that consumes B or an intermediate, the value of zapp will differ from that of z.

  2. Symbol n is commonly used when there is no risk of confusion with an amount of substance.

  3. Charge number is used in [6].

Source: [1] p 53.

3.15 equilibrium electrode potential, Eeq

Nernst potential

reversible potential

Potential of an electrode when no electric current flows through the cell and all local charge transfer equilibria across phase boundaries that are represented in the cell diagram (except at possible electrolyte-electrolyte junctions) and local chemical equilibria are established.

  1. Temperature and activities of relevant species must be specified.

  2. E eq is related to the standard electrode potential by the Nernst equation.

Source [6] p 72 Note 17.

3.16 formal electrode potential, E°′

formal potential

Equilibrium electrode potential under conditions of unit concentration of species involved in the electrode reaction.

E eq = E ° ( R T / z F ) i ν i ln( c i / c ° )

where Eeq is the equilibrium electrode potential, R the gas constant, T the thermodynamic temperature, F the Faraday constant, z the electron number of the electrochemical reaction, νi the stoichiometric coefficients (numbers of species) in the equation of the electrode reaction (positive for products and negative for reactants), and ci are the amount concentrations of the species involved (most usually ions).

  1. It is E°′ which is calculated in electrochemical experiments when the concentrations of the various species are known, but their activities are not. Its value depends on the composition of the electrolyte solution. The argument of ln is dimensionless, while the concentration ci is normalized through division by the standard concentration, usually c°=1 mol dm−3 for soluble species. [6] p 72, Note 19.

Source [6] p 72.

3.17 galvanic cell

Electrochemical cell in which chemical reactions occur spontaneously and chemical energy is converted into electrical energy.

Source: [6] p 73.

3.18 line representation of electrochemical cells

Notation giving electrodes, electroactive substances, and other relevant information for an electrochemical cell.

The notation starts and finishes with an electrode. Phase boundaries are denoted with a solid vertical bar |, boundaries between miscible liquids by a vertical dashed bar ¦, and a liquid junction by double vertical dashed bars ¦¦.

  1. The potential difference of an electrochemical cell is measured between a metallic conductor attached to the right-hand electrode of the notation and an identical metallic conductor attached to the left-hand electrode.

  2. Pt(s) | H2(g) | HCl(aq) | AgCl(s)|Ag(s)

  3. Cu(s) | CuSO4(aq) ¦ ZnSO4(aq) | Zn(s)

  4. Cu(s) | CuSO4(aq) ¦¦ KCl(aq, sat) ¦¦ ZnSO4(aq) | Zn(s)

Source: [6] p 73.

3.19 Nernst equation

Fundamental equation in electrochemistry that describes the dependence of the equilibrium electrode potential on the composition of the contacting phases, written as a reduction:

E eq = E ° ( R T / z F ) i ν i ln( a i )

where Eeq is the equilibrium electrode potential, the standard electrode potential of the reaction, R the gas constant, T the thermodynamic temperature, F the Faraday constant, z the electron number of the electrochemical reaction, and νi are the stoichiometric coefficients (numbers of species) in the equation of the electrode reaction, positive for products and negative for reactants, while ai represents the activities of the species involved (most usually ions).

  1. For a solution containing oxidized (ox) and reduced (red) forms of a redox couple at activities aox and ared, respectively, the equilibrium electrode potential is

    E eq = E ° ( R T / z F ) ln( a red / a ox )

    where is the standard electrode potential of the redox couple.

  2. In analytical chemistry, concentrations, rather than activities, are often considered (see Note to formal electrode potential)

    E eq = E ° ( R T / z F ) ln( c red / c ox )

    where E°′ is the formal potential which can differ from the standard electrode potential owing to the influence of real conditions (pH, ionic strength, concentration of complex forming substances, etc.), and cred and cox are the amount concentrations of reduced and oxidized species, respectively.

    At 25 °C, and for practical purposes, this equation is often written as

    E eq E ° ( 0.0592 / z ) log 10 ( c red / c ox )

    where the factor 0.0592≈(RT/F)/log10(e) at 298.15 K.

Source: [6] p 71, 72 with further material from [11] p 444, 533.

3.20 overpotential, η, Eη

deprecated: overvoltage

Electrode potential (E) minus the equilibrium electrode potential (Eeq) of an electrochemical reaction. η=EEeq,

  1. Overpotential is the extra potential, in relation to the equilibrium value, required to cause a given electric current to flow through the electrode.

  2. Overpotential is positive for oxidation reactions and negative for reduction reactions.

  3. The term ‘overvoltage’ is deprecated because ‘voltage’ is deprecated.

Source: [6] p 72, [10] p 536.

3.21 standard electrode potential, , E⦵∅

standard potential

Equilibrium electrode potential of an electrode under standard conditions.

  1. The standard electrode potential of an electrochemical reaction is the standard potential of a hypothetical cell in which the electrode (half cell) at the left of the cell diagram is the standard hydrogen electrode (SHE) and the electrode at the right is the electrode in question. See also line representation of electrochemical cells.

  2. E° is related to the standard Gibbs Energy of the electrode reaction, ΔrG° or ΔrG, written as a reduction with respect to that of the standard hydrogen electrode (SHE) E°=−ΔrG°/zF.

Source: [6] p 71, Note 17 p 74.

3.22 standard electrode potential of an electrochemical reaction,

See Note 1 of standard electrode potential.

4 General terms in electroanalytical chemistry

Terms in this section are used in different electroanalytical methods and so are defined here for convenience.

4.1 Cottrell equation

Equation for diffusion current Id at time t at a large planar electrode in contact with a semi-infinite layer of unstirred solution containing excess supporting (inert) electrolyte and an electroactive substance of bulk concentration c when, at the instant t=0, the potential of the electrode is suddenly changed to a value at which a mass-transport limited electrochemical reaction occurs and the concentration of the electroactive species at the electrode is zero,

I d = z F A D 1 / 2 c / ( π 1 / 2 t 1 / 2 )

where z is the number of electrons transferred in the charge transfer step of the species (being positive for an oxidation and negative for a reduction), F the Faraday constant, A the electrode surface area, and D the diffusion coefficient of the electroactive substance.

  1. This equation shows that the current decays from an initial infinitely large value, is proportional to 1/t1/2, and that no steady-state current (current independent of time) is ever achieved. In practice, diffusion-limited transport is eventually limited by convection.

Source: [11] p 163.

4.2 current-potential curve

Plot of current versus applied potential (I-E) for a given system.

  1. In voltammetry the curve is called a voltammogram.

  2. The curve is sigmoidal in hydrodynamic voltammetry, voltammetry at microelectrodes and polarography, or peak-shaped in ac voltammetry, differential pulse voltammetry, square-wave voltammetry, stripping voltammetry, and derivative techniques.

Source: [11] p 182.

4.3 diffusion current constant, ℐ

Empirical quantity in polarography defined by the equation

= I d,lim / ( c B q m 2 / 3 t d 1 / 6 )

where Id,lim is the limiting diffusion current, cB is the bulk concentration of the substance B whose electroreduction or electrooxidation results in the recorded wave, qm is the rate of flow of mercury or other liquid metal working electrode, and td is the drop time.

  1. SI unit of ℐ is A mol−1 m3 kg−2/3 s1/2

Source: [1] p 39.

4.4 drop time, td

Time interval that elapses between the instants at which two successive drops of freely dropping liquid metal are detached from the tip of the capillary in polarography.

  1. The symbols t1 and τ are not recommended.

Source: [1] p 40.

4.5 electroactive substance

electrochemically active substance

deprecated: depolarizer

Substance that undergoes a change of oxidation state, or whose chemical bonds are broken or formed, in a charge-transfer reaction at an electrode.

  1. If an electroactive substance B is formed, in the solution or at the electrode surface, by a chemical reaction from another substance C, the substance C should be called the precursor of B.

  2. In potentiometry with an ion-selective electrode, the term electroactive substance refers to the sensed ions.

Source: [1] p 41.

4.6 electrochemical biosensor

bioanalytical sensor

Electrochemical sensor that has a biological recognition element.

  1. Electrochemical biosensor may be shortened to ‘biosensor’ only if there is no ambiguity concerning, or interest in, the principle of measurement.

  2. Sensor having a type of chemically-modified electrode or ion-selective electrode modified with enzyme, antigen/antibody, certain Langmuir-Blodgett films, liposomes, plant or animal tissue, DNA, etc.

Source: [15], [16].

4.7 electrochemical sensor

Measuring system [VIM 3.2] in which the response to an electrochemical reaction is converted, via a suitable transducer, into a measurable electrical signal.

  1. Measurement principles [VIM 2.4] of electrochemical sensors are given in Table 4.7-1. When used in the description of cells, the measurement principle is written in place of ‘electrochemical’; thus, potentiometric sensor, amperometric sensor, conductometric sensor.

  2. Among the most important general criteria which must be obeyed in the design of a useful electrochemical sensor are:

    1. For amperometric and voltammetric sensors, the species to be determined are electroactive within the sensor’s potential range.

    2. For potentiometric sensors, there is an adequate electrode material, free from interferences.

    3. The concentration of electroactive species can be determined with sufficient accuracy and precision.

    4. Measurements are sufficiently reliable and repeatable.

    5. The response time of the sensor is sufficiently short.

    6. The drift or decrease of sensor response with time owing to electrode degradation or surface fouling is sufficiently low.

    7. Calibration is simple and easy to perform, or not necessary.

    8. The detection limit is sufficiently low for the purpose envisaged.

    The relative importance of these factors depends on the requirements for monitoring, as well as on the technique employed and the electrode and cell configuration. It is important to bear in mind the possibilities and advantages arising from self-contained test modules, specific assays, miniaturization, and no necessity for external pre-treatment or reagent addition.

Table 4.7-1:

Electrochemical measurement principles for electrochemical sensors.

Measurement principle Applications
potentiometry gas-sensing electrodes (e.g., for CO2, NH3, NOx), determination of oxygen in the gas phase (lambda probe) or ions in water solutions (pH sensitive electrodes [17], ion-sensitive electrodes)
amperometry monitoring of carbon monoxide in air, dissolved oxygen in water (Clark electrode), glucose in blood (glucose electrode)
conductometry detection of gases in air (CO2, NH3, NOx, SOx)

Source: [11] p 264, [18].

4.8 electrode coverage density, Γ

electrode coverage

Amount of a chemical modifier at an electrode surface per unit area.

  1. The total coverage may be distinguished from coverage that is electrochemically reactive or accessible on some given timescale.

  2. SI unit of Γ is mol m−2.

Source: [19].

4.9 electrode surface area, A

Area of electrode - solution interface.

  1. The geometric area, Ageom, is the interfacial area, determined on the assumption that the interface is truly flat (2-dimensional) and calculated using the geometric data of the involved surfaces.

    The real (true) area, Areal, takes into account non-idealities of the interface (roughness, porosity, etc.) and can be measured by a variety of electrochemical methods.

    The electroactive area is the area calculated from experiments with model electroactive species and may be different from the real surface area in cases where not all of the surface is electrochemically active or accessible.

Source: [1] p 2, [11] p 292.

4.10 Faraday’s laws of electrolysis

Faraday’s First Law of electrolysis:

Mass m of electrochemically-transformed substance is proportional to the charge Q passed, mQ.

Faraday’s Second Law of electrolysis:

When the same electric charge (quantity of electricity) Q is passed through several electrolytes, the mass mi of the substances deposited are proportional to their respective chemical equivalent molar mass, Mi/zi.

m 1 / m 2 = ( M 1 / z 1 ) / ( M 2 / z 2 ) .

  1. The relationship may be formulated as m=MQ/zF, where M is the molar mass of the substance, z the number of electrons transferred, and F is the Faraday constant.

  2. Measurement of charge using a coulometer relies on Faraday’s Law.

  3. If reference is made only to ‘Faraday’s Law of electrolysis’ the first law is meant.

Source: [11] p 363.

4.11 galvanostat

Instrument which controls the electric current between the working electrode and the auxiliary electrode.

See also: Classification of electrodes by function, potentiostat.

4.12 open circuit potential (OCP)

deprecated: open circuit voltage

Electrode potential of working electrode relative to the reference electrode when no potential or electric current is being applied to the electrochemical cell.

  1. In the case of a reversible electrode system, the OCP is also referred to as the equilibrium electrode potential. Otherwise, it is called the rest potential, or the corrosion potential, depending on the system being studied.

Source: [11] p 741.

4.13 polarizable electrode

Electrode whose potential changes with an applied potential.

  1. A non-polarizable electrode is an electrode that holds its potential essentially constant by efficiently allowing electric current to pass. This is a desirable characteristic for a reference electrode (See Classification of electrodes by function).

4.14 potentiostat

Measuring instrument [VIM 3.1] for electric current that controls the potential difference between a working electrode and a reference electrode and measures the electric current between a working electrode and an auxiliary electrode.

Source: [11] p 755. See Classification of electrodes by function.

4.15 salt bridge

Means of making electrolytic connection between two half cells without introducing a significant liquid junction (see [20]) potential.

  1. A typical construction is a tube of an inert material (e.g. agar agar) filled with a solution containing an electrolyte with approximately equal ion mobilities of the cation and the anion (e.g., KNO3, KCl), with the ends of the tube immersed in the electrolyte solution of the half cells.

4.16 supporting electrolyte

base electrolyte

indifferent electrolyte

inert electrolyte

Electrolyte solution, the ions of which are electroinactive in the range of applied potential being studied, and whose ionic strength (and, therefore, contribution to the overall conductivity) is usually much greater than the concentration of an electroactive substance to be dissolved in it.

Source: [1] 50.

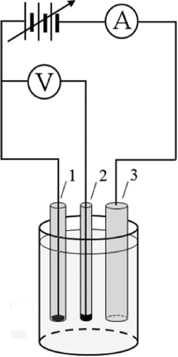
4.17 three-electrode cell

Electrochemical cell with a working electrode, reference electrode, and auxiliary electrode (See Classification of electrodes by function) See Fig. 4.17-1.

Fig. 4.17-1: 
            Schematic of a three-electrode cell. 1 - working electrode, 2 - reference electrode, 3 - auxiliary electrode. The potential between 1 and 2 is set while passing and measuring current between 1 and 3. See Classification of electrodes by function.
Fig. 4.17-1:

Schematic of a three-electrode cell. 1 - working electrode, 2 - reference electrode, 3 - auxiliary electrode. The potential between 1 and 2 is set while passing and measuring current between 1 and 3. See Classification of electrodes by function.

  1. Electric current flows between the working and auxiliary electrodes. Electrode potential may be measured between the working and reference electrodes.

  2. A potentiostat can be used to maintain a potential difference between the working and reference electrodes.

4.18 working potential range

Range of electrode potentials of a given working electrode in a given electrolyte, where the electric current from reactions of the electrode or electrolyte is negligible compared with the current from reactions of the system under investigation.

  1. Because the working potential range is a function of a specific electrode/electrolyte system, only approximate ranges can be given for generic systems. See Table 4.18-1.

  2. The working potential range is usually limited by the stability of the electrolyte, itself affected by the catalytic properties of the electrode, or by the stability of the electrode.

Table 4.18-1:

Examples of approximate working potential ranges of various electrode materials.

Electrode material Potential range in given medium (vs Ag|AgCl|3 m KCl for aqueous systems). Note 1 m=1 mol L−1.
Pt –0.8 to +1.3 V in NaOH (1 m)

0 to +1.7 V in H2SO4 (1 m)

range: 4.7 V in (C4H9)4NClO4 in acetonitrile (1 m)

range: 5.3 V in 1-hexyl-3-methylimidazolium trifluorotris(pentafluoroethyl)phosphate1
Au –0.4 to +1.2 V in H2SO4 (1 m)
C –1.0 to +1.0 V in KCl (0.1 m),

0 to +2.0 V in HClO4 (1 m)
Hg –2.0 to +0.2 V in NaOH (1 m),

–1.0 to +0.4 V in H2SO4 (1 m)
boron-doped diamond –2.5 to + 2.5 V in 0.1 m acetate buffer pH 5
  1. 1Reference [21].

5 Electrode systems

5.1 Classification of electrodes by size

See Table 5.1-1.

Table 5.1-1:

Classification of electrodes by size

Term Definition Reference Note
macroelectrode Electrode with smallest dimension of order millimetre or greater. [11] p 45 (1)
microelectrode Electrode with smallest dimension of less than 1 millimetre and greater than 1 micrometre. (1), (2), (3), (4), (5)
ultramicroelectrode (UME)

(obsolete, not recommended)
Electrode with smallest dimension of less than 25 micrometre. see [11] p 592, and [11] p 945 (1), (3)
nanoelectrode (NE)

not recommended: nanode
Electrode with smallest dimension less than 1 micrometre [11] p 608

See also [22], [23]
(5), (6)

Notes:

  1. Electrodes are described by their smallest dimension. Thus, an electrode of 1 μm×1 mm is termed a ‘microelectrode’.

  2. Microelectrodes operate at a current small enough to not perturb the concentration of the solution over the experimental time span.

  3. Electrode dimensions of micrometres are now routine and the distinction between ‘ultramicro’ and ‘micro’ electrodes is not usually made.

  4. When the smallest dimension of an electrode falls below about 25 μm, the diffusion layer thickness becomes greater than the dimension of the electrode, which leads to a steady state current given by I=zFAm0c0, where z is the number of electrons transferred in the charge transfer step of the species (being positive for an oxidation and negative for a reduction), F the Faraday constant, A the electrode surface area, and c0 the bulk concentration of electroactive species. m0 depends on the geometry of the electrode and is, for example, 4D/πr0 for a disc and D/r0 for a hemisphere, where D is the diffusion coefficient of the electroactive substance, and r0 the radius of the electrode.

  5. Nanoelectrodes and microelectrodes are often configured as electrode arrays.

  6. Nanoparticles adsorbed, or otherwise deposited, on a conductor are considered a kind of nanoelectrode.

5.2 Classification of electrodes by function

See Table 5.2-1

Table 5.2-1:

Classification of electrodes by function

Term Definition Reference Note
working electrode Electrode at which one or more electroactive substances undergo reaction in the solution being investigated. [1] (1), (2)
indicator electrode Electrode that responds to one, or more than one, species in the solution being investigated, with no appreciable change of bulk solution composition during the measurement. [1] (2), (3)
reference electrode

reference half-cell
Electrode that maintains an essentially constant potential under the conditions prevailing in an electrochemical measurement, and that serves for observation, measurement, or control of the potential of the indicator or working electrode. [1] (4), (5), (6)
quasi-reference electrode (QRE)

deprecated: pseudo-reference electrode
Electrode that maintains a constant, but not generally well-defined, potential in an electrochemical cell. [8] p776 (7)
auxiliary electrode

counter electrode

secondary electrode
Electrode whose function is to carry the electric current flowing through the electrical circuit of an electrochemical cell, the electrochemical processes on its surface not being of interest. [1] (8), (9)

Notes:

  1. This term is typically used in voltammetry, polarography, amperometry, and coulometry.

  2. If processes of interest occur both at the anode and the cathode of a cell (as in differential amperometry or controlled-current potentiometric titration with two indicator electrodes), the cell should be said to comprise two indicator or working electrodes.

  3. This term is typically used in potentiometry.

  4. In potentiometry, under zero current condition, the essentially constant potential is achieved by ensuring a constant composition of solution in contact with the electrode forming a half-cell. Practical reference half-cells are generally non-polarizable electrodes of the 2nd kind (metal| insoluble salt| ion), constructed so that their electrolyte solutions serve as salt bridges to the solutions under investigation.

  5. “Double” junction reference electrodes are recommended when the reference electrolyte contains interfering components.

  6. Examples: The standard hydrogen electrode represents the primary standard in electrochemistry. Electrodes of the 2nd kind, such as Ag|AgCl, Hg|Hg2Cl2, Hg|Hg2SO4, and Hg|HgO, can be used as reference electrodes in aqueous solutions containing ions Cl, SO42−, and OH, respectively.

  7. Examples are platinum or silver wires used in non-aqueous electrolytes or ionic liquids. Quasi-reference electrodes are calibrated against a reference electrode or by using a redox couple of known standard electrode potential.

  8. An auxiliary electrode is used in any three-electrode cell, together with a working electrode and reference electrode.

  9. An auxiliary electrode must not add an excessive potential burden to the cell. It is chosen for the efficiency of the electrochemical reaction and usually has a greater surface area than the working electrode.

5.3 Classification of electrodes by chemical composition

5.3.1 Carbon electrodes

See Table 5.3.1-1

Table 5.3.1-1:

Carbon electrodes

Electrode Description Reference Note
carbon electrodes Various forms of carbon exhibit good electrical conductivity, they are readily available, and are low-cost materials used for many electrochemical applications. [11] p 102

(1)
graphite electrode Electrode made from graphite utilising the property of greater conductivity along the graphene sheets than perpendicular to them. [11] p 430 (2)
glassy carbon electrode (GCE) vitreous carbon electrode Electrode made of glassy carbon material with an intertwined graphitic ribbon structure, formed by pyrolysis of a resol precursor at temperatures up to 3000 °C. [11] p 421 (3)
highly oriented pyrolytic graphite electrode (HOPGE) Graphite electrode of material produced by high temperature deposition of carbon on a ceramic surface and subject to graphitization at 3000 °C. [11] p 430 (4)
paraffin impregnated graphite electrode (PIGE) Graphite electrode based on a graphitic material impregnated with paraffin having a high melting point. [11] p 670 (5)
boron-doped diamond electrode (BDDE) Electrode composed of a boron-doped diamond film on an electron-conducting substrate. [11] p 79, [24], [25] (6)

Notes:

  1. Forms of carbon used in electrodes include felt, fibre, nanotubes, and paste as well as particular electrodes described in the table. The form of carbon should be specified when describing a carbon electrode.

  2. Properties of graphite electrodes are controlled by the precursor carbon and the method of preparation. Modification with elements and compounds tailors the properties further.

  3. Glassy carbon combines glass-like mechanical characteristics with physical properties similar to graphite, owing to its “graphene ribbon” structure. It is extremely resistant to many chemicals, impermeable to gases and liquids, and has good electrical conductivity, high hardness and strength, and biocompatibility. It is one of the most frequently used working electrode materials.

  4. HOPGE is employed as edge plane pyrolytic graphite electrode (EPPG, graphene sheets perpendicular to the electrode surface) or as basal plane pyrolytic graphite electrode (BPPG, graphene sheets parallel to the electrode surface). The properties of these electrodes are different.

  5. Paraffin impregnation results in decreased porosity and lower charging current and memory effects.

  6. Boron is the most widely used dopant to produce conducting diamond electrodes. A BDDE is characterized by a wide working potential range, low noise, a low and stable background current, chemical and mechanical stability, good biocompatibility, and resistance to passivation. BDDEs can be used as substrate materials for various chemical modifications.

5.3.2 chemical modifier

See chemically-modified electrode

5.3.3 chemically sensitive field effect transistor (ChemFET)

Non-faradaic electrode system in which electric field variations in the semiconductor gate region control the magnitude of the source-drain current.

5.3.4 chemically-modified electrode (CME)

Electrode coated with a thin layer of a substance that exhibits particular chemical, electrochemical, and/or optical properties.

  1. The layer may be monomolecular, multimolecular, ionic, or polymeric in structure.

  2. The substance is termed a chemical modifier.

  3. For electroanalytical purposes, a CME is designed for use as a predominantly voltammetric or amperometric device, but examples of potentiometric, impedimetric, or microgravimetric sensing devices are known.

  4. A CME is prepared by the deliberate modification of the surface or bulk matrix material of the electrode with a selected reagent (monomeric or polymeric) that governs its electrochemical properties. Such manipulation of the molecular composition of the electrode aims to improve sensitivity, selectivity, and/or stability, allowing for the tailoring of its response to meet analytical needs.

  5. The range of electrode surface properties sought is broader than that of ion-selective electrodes (ISEs), which also involve the rational design of the phase-boundary, partition, and transport properties of membranes on or between electrodes. CMEs also differ from ISEs in that they are generally used voltammetrically or amperometrically, a faradaic (charge transfer) reaction being the basis of measurement, whereas ISEs are generally used in potentiometric mode, the measured quantity being a phase/boundary potential (interfacial potential difference). See Table 5.3.4-1.

Table 5.3.4-1:

Detection principles for chemically modified electrodes

Type of interaction Description Note/Example Reference
biorecognition The electrode is modified by a biological recognition element. Enzyme-modified electrode, electrochemical biosensor. [15], [19]
change of mass The signal originates from accumulation and/or release of an analyte or reagent as well as other electrochemical processes which can result in changes in the mass of the CME. Simultaneous electrochemistry and microgravimetry can be accomplished by means of an electrochemical quartz crystal microbalance (EQCM, see electrochemical piezoelectric microgravimetry). For use with an EQCM, a CME is fabricated by covering one face of a metallized quartz resonator with a modifying film. [26]
controlled release An analyte or reagent accumulated at a CME undergoes quantitative release (egress, stripping, expulsion, or microdosing) to the test solution, under electrochemical or chemical control. Different mechanisms are involved in controlled release from the CME depending on the nature of the analyte or reagent and the method of accumulation. In the case of accumulation by covalent bonding, the anchoring bond is cleaved (ruptured) electrochemically. In the case of ion-exchange accumulation, an ionic (redox or acid-base) analyte or reagent is released by neutralizing its charge or the charge of the ion-exchanging redox polymer film or conducting polymer film. [26]
electrocatalysis A charge transfer reaction between a CME and analyte which proceeds at a lower overpotential than at the bare electrode.

Usually, the effect of electrocatalysis is also an increase of faradaic current.
Hydrogen evolution at HMDE catalyzed by adsorbed organic bases, oxygen reduction, water oxidation, hydroxylamine oxidation at CME with metal complex compounds as the electrocatalyst.

Electrocatalysis at a CME must be distinguished from redox mediation.
[19], [26]
redox mediation An immobilized redox couple can shuttle electrons between the electrode and an analyte, for instance, one with difficult access to the electrode surface because of steric reasons. Electrocatalysis is accomplished by charge mediation but not all mediation results in electrocatalysis.

5.3.5 Composite electrodes

See Table 5.3.5-1

Table 5.3.5-1:

Composite electrodes

Electrode Description Reference Note
carbon paste electrode, CPE Electrode of a composite of carbon powder and a pasting liquid (including mineral oil, Nujol, bromoform, bromonaphthalene). [11] p 282 (1), (2)
carbon ink electrode Development of a carbon paste electrode that is screen printed using a carbon/polymer mixture of suitable composition. [27] (2), (3)
solid amalgam electrode, SAE Electrode made of a solid amalgam of an appropriate metal. [11] p 34, [28] (4), (5)
  1. The CPE was first described by Adams in 1958. A CPE is typically housed in a Teflon holder, contacted by a conductive wire (occasionally a piston is used to renew the surface by extrusion of the used paste). Problems are long-term stability of the paste and that the binder can influence its properties.

  2. These electrodes can easily be chemically modified by the incorporation of reagents (electrocatalysts, redox mediators, complexation agents, enzymes, etc.) and by the attachment of micro- or nanoparticles to prepare electrochemical sensors for analytical applications. See [29] for an example using rabbit anti-mouse immunoglobulin in an ELISA assay using a carbon ink electrode.

  3. Typical composition of a carbon ink expressed as mass fractions is graphite powder 60 % and polystyrene 40 %.

  4. Solid amalgam electrodes are electrochemically similar to the hanging mercury drop electrode (See 5.3.7 Note (7)). Their main advantages are high hydrogen overpotential (similar to liquid mercury); a wide working potential range; the simple mechanical, chemical, and electrochemical regeneration of the surface; a long lifetime; low toxicity of material (comparable with that of dental amalgams); applicability for field measurements; compatibility with flow-through systems; simple construction, without mobile parts; and easy miniaturization.

  5. Liquid and paste amalgams can also be used.

5.3.6 enzyme-modified electrode

enzyme electrode

Chemically-modified electrode in which the products of a reaction between enzymes in an immobilized enzyme layer and the enzyme reaction substrate are electrochemically active and are measured usually by amperometry or potentiometry.

  1. Glucose electrode in which glucose oxidase converts β-D-glucose and oxygen to gluconolactone and hydrogen peroxide, the concentration of which is measured amperometrically. In modern devices, a redox mediator, e.g. ferrocenium ion and its derivatives, recycles the reduced form of the enzyme and is itself reoxidized in the reaction that is monitored [30]. See Fig. 5.3.6-1.

Source: [19], [26].

Fig. 5.3.6-1: 
              Schematic of the mediated oxidation of glucose to gluconolactone by glucose oxidase. The current passed to re-oxidise the mediator is proportional to the amount concentration of glucose.
Fig. 5.3.6-1:

Schematic of the mediated oxidation of glucose to gluconolactone by glucose oxidase. The current passed to re-oxidise the mediator is proportional to the amount concentration of glucose.

5.3.7 Metal electrodes

Kinds of metal electrodes are given in Table 5.3.7-1.

Table 5.3.7-1:

Metal electrodes

Electrode Description Reference Note
gold electrode Foil, wire or disc electrode made of gold which is easily fabricated into a variety of electrode geometries. [11] p 283 (1)
platinum electrode Foil, wire, disc, or mesh electrode made of platinum, which is the most commonly used metallic working electrode in electrochemistry. [11] p 287 (2)
silver electrode Electrode in the form of foil, mesh, wire, rod, tube, powder, pellets, or single crystal of silver. [11] p 290 (3)
mercury electrode Liquid metal electrode used in polarography [1]], [[11] p 795 (4), (5)
dropping mercury electrode (DME) Mercury electrode formed by sequence of mercury drops falling from a small aperture. [11] p 235, 285, (6), (7)
bimetallic electrode Electrode containing two different metals (e.g. platinum and ruthenium) on its surface (e.g. to modify its electrocatalytic properties). [11] p 282

Notes

  1. At positive potentials, Au forms an oxide and/or chemisorbed oxygen layer, while in the presence of complexing anions, such as chloride or cyanide, it readily undergoes oxidation and dissolution, limiting its working potential range and its applications.

  2. Pt has a very small overpotential for hydrogen evolution, which determines the negative potential limit in protic solvents. Pt adsorbs hydrogen, resulting in hydrogen adsorption/desorption waves. However, the positive potential limit in polar aprotic solvents free of oxygen and water is higher than that for any other commonly used electrode materials. In the presence of water and/or oxygen, Pt forms a film of oxide (and/or chemisorbed oxygen), resulting in potentially interfering waves or peaks.

  3. Ag electrodes were first used in potentiometry for the determination of Cl, Br, I, as well as for Ag+ ions, to which they are sensitive.

  4. Liquid mercury is an ideal electrode material for negative potentials because of its high overpotential for hydrogen evolution (electrochemical reduction of hydroxonium cations from solution). However, mercury is readily oxidized, particularly in the presence of anions that form complexes or that precipitate with Hg(I) or Hg(II) ions, and thus it is not suitable for use at positive potentials. The use of liquid mercury has largely been discontinued because of concerns about the toxicity of the element and its compounds.

  5. A mercury film electrode (MFE) or thin mercury film electrode (TMFE) is formed by coating a conducting substrate, usually glassy carbon, with a layer of mercury (thin film, amalgam, or array of microdrops), often by electrodeposition from a solution containing Hg(II). The electrode area is normally in the range of 0.1 to 0.5 cm2 and mercury film thickness typically ranges from 10 to 1000 nm, producing a film of large surface area-to-volume ratio that results in a high analyte pre-concentration during the deposition step of anodic stripping voltammetry. Compared to an HMDE, the MFE provides high sensitivity and resolution; however, it is somewhat less reproducible and more prone to interferences from intermetallic formation and surface-active substances.

  6. The DME was introduced by Jaroslav Heyrovský (1890 – 1967). A drop is renewed every few seconds. Many metals amalgamate with mercury so that in the analysis of metal ions in aqueous solution the DME maintains a fresh surface throughout.

  7. Other kinds of mercury drop electrodes are the static mercury drop electrode (SMDE), in which a drop is held at constant radius before being mechanically knocked off, and the hanging mercury drop electrode (HMDE), in which the whole experiment is performed on a single drop of mercury.

5.4 Other electrode systems

5.4.1 all-solid-state ion-selective electrode

metal contact ion-selective electrode

Ion-selective electrode in which the ion-selective membrane contacts the electronic conductor without internal electrolyte solution.

  1. Charge transfer is accomplished in the membrane by both ionic and electronic conductivities (mixed conductors).

  2. The inner reference electrode is replaced by an electronic conductor, e.g., a bromide sensor film of AgBr is reversibly contacted with Ag, or an anion sensor based on cation radical salts is contacted with Pt.

Source: [31].

5.4.2 combined electrode

Ion-selective electrode cell in which the ion-selective electrode and reference electrode are combined in a single sensor assembly, thereby avoiding the need for a separate external reference electrode.

Source: [4].

5.4.3 electrode array

Assembly of linked electrodes (usually microelectrodes, ultramicroelectrodes or nanoelectrodes) acting as a single electrode.

  1. By replacement of macroelectrodes with dimensions in the millimetre or centimetre range by a microelectrode array, the current density can be increased by orders of magnitude, as well as the ratio of faradaic to capacitive currents. When array electrodes are employed as generator-collector systems with two distinct potentials applied, the diffusion distance between electrodes becomes the main factor in controlling the total current.

  2. Interdigitated array electrodes are commonly employed in electrochemical sensors.

Source: [11] p 45.

5.4.4 glass pH-sensitive electrode

pH electrode

glass electrode

pH-sensitive electrode, usually consisting of a bulb, or other suitable form, of special glass attached to a stem of high-resistance glass, complete with an internal reference electrode and internal filling solution system.

  1. Other geometrical forms may be appropriate for special applications, e.g., a capillary electrode for the measurement of blood pH.

Source: [17] 12.8 p 2190.

  1. The potential across the membrane is measured between two reference electrodes (usually silver-silver chloride, chloride) and is related to the ratio of hydronium-ion activities by the Nikolsky-Eisenmann equation.

  2. Line notation for the cell is external reference electrode|external reference electrolyte||test solution|glass membrane|internal reference electrolyte|internal reference electrode

  3. The bulk of the glass membrane is dry (of about 50 μm thickness) with two hydrated layers (of 5 to 100 nm thickness) on each side of the membrane that contact the solution.

  4. The hydrated layer acts as an ion-exchanger for the exchange of Na+ ions of the membrane with H3O+ ions from an aqueous solution

    | Si-O-Na + H + ( aq ) |Si-OH + Na + ( aq )

    The glass electrode is therefore selective to Na+ (and any other alkali metal ions).

  5. The membrane potential originates as a Galvani potential difference (see [6] p 71) between the two sides of the glass membrane, which depends on the ratio of the activities of H+ ions on both sides of the membrane. In the absence of interfering ions, the membrane potential can be expressed by the Nernst equation

    E = K + ( R T / F )  ln( a H + ( test ) / a H + ( internal ) ) = K ( R T / F ) / ( log 10 ( e ) )  pH(test)

    where K and K′ are constants, R is the gas constant, T the thermodynamic temperature, F the Faraday constant, and a activity. At 25 °C this becomes EK′ – 0.0592 pH(test).

Source: [11] p 416.

5.4.5 heterogeneous crystalline membrane ion-selective electrode

heterogeneous crystalline membrane electrode

Ion-selective electrode in which the ion-selective membrane is a crystalline material mixed with an inert matrix (such as silicone rubber or polyvinyl chloride), or placed on hydrophobized graphite [32] or conducting epoxy resin [33], to form a heterogeneous sensing membrane.

Source: [31].

5.4.6 homogeneous crystalline membrane ion-selective electrode

homogeneous crystalline membrane electrode

Ion-selective electrode in which the ion-selective membrane is a crystalline material prepared from either a single compound or homogeneous mixture of compounds.

  1. A pressed membrane of Ag2S used in an ISE for measurement of activities of silver ions or sulfide ions.

Source: [31].

5.4.7 internal reference electrode

deprecated: inner reference electrode

Reference electrode which, together with an ion-selective membrane, comprises an ion-selective electrode.

  1. Silver/silver chloride electrode in contact with a solution containing fixed concentrations of chloride and an ion to which the electrode is selective. This solution is in contact with the ion-selective membrane.

  2. To distinguish between the two reference electrodes in an ion-selective electrode cell with a stand-alone membrane, the reference electrode against which the potential of the ISE is measured is termed the ‘external reference electrode’ (not recommended: outer reference electrode).

Source: [4].

5.4.8 ion-selective electrode (ISE)

Potentiometric indicator electrode based on an ion-selective membrane (as the recognition element) with fixed or mobile sites that interact with ions of analyte in the test solution and respond to their activities.

  1. The measured potential difference has as its principal component the potential difference associated with permselective mass transfer (by ion-exchange, solvent extraction or some other mechanism) across a phase boundary.

  2. The ion-selective membrane is commonly based on a plasticized polymer, glass, single crystal, or sparingly soluble salt (See Table 5.4.11-1). The back-side of the membrane is in contact with a liquid- or solid-state ion-to-electron transducer that completes the ISE.

  3. The potential of an ISE, measured against a reference electrode, is proportional to the logarithm of the activity of the primary ion (Nernst equation) as long as there is no influence from interfering ions.

  4. Ion-selective electrode is often used to describe the ion-selective electrode cell (i.e. the measuring system [VIM 3.2]).

  5. The preference of an ISE for the analyte ion relative to interfering ions is expressed by the potentiometric selectivity coefficients, as originally defined by the Nikolsky-Eisenman equation.

  6. The term “ion-specific electrode” is not recommended. The term “specific” implies that the electrode does not respond to other ions. Since no electrode is truly specific for one ion, the term “ion-selective” is adopted.

Table 5.4.11-1:

Classification of ion-selective membranes used in ISE, Source: [4]], [[31]

Type of membrane Description Note/Example
Crystalline electrodes Contain mobile ions of the same charge and fixed sites of an opposite sign.
Homogeneous crystalline membrane electrodes ISE in which the membrane is a crystalline material prepared from either a single compound or a homogeneous mixture of compounds. Ag2S, AgI/Ag2S
Heterogeneous crystalline membrane electrodes ISE prepared of an active substance, or mixture of active substances, mixed with an inert matrix (such as silicone rubber or PVC), or placed on hydrophobized graphite [32] or conducting epoxy resin [33], to form a heterogeneous sensing membrane.
Non-crystalline membrane A support matrix, containing an ion exchanger (either cationic or anionic), a plasticizer solvent, and possibly an uncharged, selectivity-enhancing species, form the ion-selective membrane which is usually interposed between two aqueous solutions. The matrix can be either macroporous (e.g., poly(propylene carbonate) filter, glass frit, etc.) or microporous (e.g., “thirsty” glass or polymeric material such as PVC) yielding with the ion-exchanger and the solvent a “solidified” homogeneous mixture. An ISE based on these membranes exhibits a response due to the presence of the selectivity-enhancing species (which exhibit an ion-exchange property) in the membrane. Solvent polymeric membrane
Rigid, self-supporting, matrix membranes Synthetic cross-linked polymer with fixed sites or thin glass membrane. The chemical composition of the polymer (e.g. polystyrenesulfonate, sulfonated poly(tetrafluoroethylene), poly(vinyl chloride) aminated) or the glass determines the membrane selectivity (See pH-sensitive electrode). Synthetic cross-linked polymer or glass electrodes
Membranes with mobile charged sites 1. Positively-charged, hydrophobic cations which, when dissolved in a suitable organic solvent and held in an inert support (e.g., poly(propylenecarbonate) filter or PVC), provide membranes which are sensitive to changes in the activities of anions.

1. Quaternary ammonium cations or cations of substitutionally inert, transition metal complexes of such ligands as derivatives of 1,10-phenanthroline

2. Negatively-charged hydrophobic anions which, when dissolved in a suitable organic solvent and held in an inert support (e.g., poly(propylene carbonate) filter or PVC), provide membranes which are sensitive to changes of cation activities.

2. of type (RO)2PO2-, tetra-p-chlorophenylborate, dinonylnaphthalene sulfonate).

3. Uncharged “carrier” electrodes based on solutions of molecular complexing agents of cations and anions, which can be used for preparing ion exchanger membranes sensitive and selective to certain cations and anions.

3. ion-dipole forming agents:

antibiotics, macrocyclic compounds or other sequestering agents. Adduct forming agents, such as organotin compounds, activated carbonyl compounds, and some porphyrins.



4. Hydrophobic ion-pair electrodes of plasticized polymers (e.g., PVC) containing a dissolved hydrophobic ion-pair respond to the ion activities of those components, which are relevant to the ion-pairs incorporated in the membrane. The responses can be Nernstian. 4. Cationic drug substance as cation tetraphenylborate, or an anionic drug substance as tetraalkylammonium salt of the anion.

Source: [11] p 622, and [31].

5.4.9 ion-selective electrode cell

Electrochemical cell with an ion-selective electrode and a reference electrode.

  1. The line representation of the cell is: reference electrode || test solution | ISE, where | represents one side of the ion-selective membrane.

  2. If one side of the ion-selective membrane is in contact with a solution containing a fixed activity of the analyte ion in an internal reference electrode, the line representation of the cell is reference electrode || test solution | membrane | internal reference electrode

Source: [31].

5.4.10 ion-selective field effect transistor (ISFET)

Electrochemical sensor based on the principle of the field effect transistor (FET) in which the surface of the gate is modified in a way that makes the response ion-selective.

  1. A field effect transistor is a semi-conductor device in which the electric current between two semiconductor electrodes (termed the source and the drain) is controlled by the third electrode, termed the gate. Changes in the concentration of the species in the solution in contact with the gate surface thus control the current between the source and drain.

  2. The output signal of the ISFET is usually a potential difference, the magnitude of which varies with the change in the logarithm of sensed ion activity or concentration in the same way (but not necessarily in sign) as the corresponding ion-selective electrode. The graphical representation of results should be in accordance with previous recommendations for ISEs, that is, the output potential difference should be plotted versus the logarithm of ion activity or concentration so that the slope of the plot is positive for cation responsive devices and negative for anion-responsive ones.

  3. Not all chemical-sensitive semiconductor devices are based on the field effect transistor (FET), metal oxide semiconductor field effect transistor (MOSFET), or insulated gate field effect transistor (IGFET). Also, not all chemical-sensitive FETs (ChemFETs) are ion-sensitive (ISFETs), but considerations are restricted here solely to ISFETs. Generally, ChemFETs are sensitive to gases and to enzyme substrates as well as to ions. Structurally, the ISFET is very similar to the IGFET.

  4. Symbols and techniques related to the performance of ISFETs with regard to the determination of ions in solution should be in accordance with the recommendations for ISEs.

Source: [4]], [[11] p 508.

5.4.11 ion-selective membrane

Membrane with controlled permeability to a particular ion covering an electrode, or separating two electrolyte solutions.

  1. The potential difference of an ion-selective electrode derives from differences in activity of an ion at each side of the membrane.

  2. Kinds of ion selective membranes are given in Table 5.4.11-1.

Source: [31], [34].

5.4.12 isopotential point

Electric potential of an ion-selective electrode and activity of an analyte ion at which the potential of the ISE is independent of temperature.

  1. The specification of the ISE and outer reference electrode must be described.

  2. When an isothermal cell is used with identical internal and external reference electrodes, the isopotential point is the activity of sensed ions for which zero net membrane potential difference is measured, e.g., sensed ion activity is the same in the inner and outer (test) solution. Slopes of calibration plots for different cell temperatures are different, but intersect at a common activity point. Cells with temperature gradients are not recommended.

Source: [4].

5.4.13 membrane potential, EM

Donnan potential

Electric potential difference between two solutions separated by an ion-selective membrane in the absence of any electric current flowing through the membrane.

  1. The membrane potential can be expressed as:

    E M = ( E 1 E Ref .1 ) ( E 2 E Ref .2 ) = E 1 E 2

    where ERef.1 a ERef.2 are the potentials of the external and internal reference electrode, respectively, and E1E2 is the potential difference between the two solutions.

Source: [11] p 739.

5.4.14 Nernstian response

Response of an ion-selective electrode according to a local thermodynamic equilibrium, over a given range of activity (or concentration) that follows the Nernst equation.

  1. For the Nernstian response, the potential difference of the ion-selective electrode cell is proportional to the decadic logarithm of the ionic activity of a given species (aA) with coefficient (RT/zAF)/log10(e) (about 0.0592/zA V at 298.15 K), where R is the gas constant, T the thermodynamic temperature, F the Faraday constant, and zA the electron number of the electrochemical reaction of species A.

  2. Nernstian response implies ideal sensitivity, but not necessarily ideal selectivity, since interfering ions may also give a Nernstian response when they are present as the sole potential determining species.

Source: [4].

5.4.15 Nikolsky-Eisenman equation

Equation describing the contribution of interfering ions, i, to the electrode potential of an ion-selective electrode that is mainly dominated by the primary ion X.

E = const + R T z X F ln ( a X + i K X , i pot a i ( z X / z i ) )

where E is the measured electrode potential of an ISE when the only variables are activities in the test solution. R is the gas constant, T the thermodynamic temperature, zx and zi are the numbers of electrons transferred by the analyte ion X and i, respectively, F is the Faraday constant, ax and ai the activity of X and i, respectively, and KX,ipot is the potentiometric selectivity coefficient for interfering ion i with respect to the primary ion X.

  1. The Nikolsky-Eisenman equation is an extension of the Nernst equation

Source: [11] p 622.

5.4.16 pH-sensitive electrode

Potentiometric electrochemical sensor that measures pH as a linear function of electrode potential.

  1. Measurement principles [VIM 2.4] or methods [VIM 2.5] include the use of an ion-selective electrode (see glass pH-sensitive electrode), ion-selective field effect transistor, metal-metal oxide electrodes, or redox electrode (e.g. hydrogen electrode, quinhydrone electrode).

Source: [11] p 685. See also [17].

5.4.17 potentiometric enzyme electrode

Enzyme-modified electrode, or an electrode modified by a substrate, co-factor or inhibitor, in which the activity of a product of the enzyme reaction is measured by an ion-selective electrode.

Source: [31].

5.4.18 potentiometric gas sensor

Ion-selective electrode cell that is responsive to an analyte gas.

  1. The ion-selective membrane of the gas sensor is in contact with a thin film of solution that is separated from the bulk of the sample solution by a gas-permeable membrane or an air gap. This intermediate solution interacts with the analyte gas that penetrates through the membrane or air gap, which results in a change of a measured constituent (e.g., H+ activity) of the intermediate solution. This change is then sensed by the ion-selective electrode and is related to the partial pressure of the gaseous species in the sample.

  2. These electrodes respond both to the partial pressure of the gas (H2 or Cl2) and to the ionic activities of related species (H+ or Cl).

  3. In electrochemical literature the term ‘gas electrode’ inludes potentiometric gas sensors and the classical, redox-equilibrium-based gas electrodes, such as the hydrogen electrode: Pt(s) | H2(g) | H+(aq).

5.4.19 potentiometric selectivity coefficient, KA,Bpot

selectivity coefficient

deprecated: selectivity constant

deprecated: selectivity factor

Parameter defining the ability of an ion-selective electrode to distinguish a particular ion, i.e., a primary ion A from an interfering ion B.

  1. The selectivity coefficient is determined by means of the potential difference of the ion-selective electrode in mixed solutions of the primary ion, A, and interfering ion, B (Fixed Interference Method) or, less desirably, in separate solutions of A and B (Separate Solution Method). See, for example, page 2636 of [31]. The activities of the primary ion, A, and the interfering ion, B, at which KA,Bpot is determined should always be specified, as the value of KA,Bpot is defined by a modified Nikolsky-Eisenman equation. The smaller the value of KA,Bpot, the greater the electrode’s preference for the primary ion, A.

Source: [4]], [[31].

5.4.20 response time at an ISE, tR

Duration between the time when an ion-selective electrode and an external reference electrode (the two completing the ion-selective electrode cell) are brought into contact with a sample solution (or the time at which the activity of the ion of interest in solution is changed) and the first time at which the slope of the cell potential vs. time plot (ΔEt) becomes equal to a limiting value selected on the basis of the experimental conditions and/or requirements concerning accuracy.

  1. Buck and Lindner [31] suggest a slope of 0.6 mV min−1.

  2. Previously defined response times t95 (corresponding to the 95% change of the potential span) and t* (to 1 mV from the steady value) require prior knowledge of steady-state E values that may not be available. These descriptive quantities underestimate practical response times of ion-selective electrodes in clinical applications where the total span may be narrower than 10 mV. The response time expressed in terms of ΔEt (i.e., rate of cell potential variation with time) seems to be the best choice among non-ideal options. It can be related to t95 and t* through mathematical models, provided that the long-time potential-determining processes are identified.

5.4.21 rotating disc electrode (RDE)

A disc electrode that is embedded in the centre of a cylinder which rotates in solution around the longitudinal cylinder axis.

  1. The limiting current is given by the Levich equation.

  2. The current is directly proportional to the electrode area and the electrode is uniformly accessible.

  3. A second annular working electrode may be positioned concentric with the disc to make a rotating ring-disc electrode (RRDE). This arrangement is largely used in mechanistic studies.

Source: [35].

5.4.22 wall-jet electrode

A disc electrode with a thin circular jet of fluid impinging on its centre.

  1. The limiting current is given by

    I lim = 1.59 k z F r 3 / 4 d 1 / 2 V f 3 / 4 υ 5 / 12 D 2 / 3 c

    where 1.59 is a numerical factor that arises from the mathematical solution to the convective-diffusion system, k is an empirical factor with values between 0.96 and 0.90, z the electron number of the electrochemical reaction, and F the Faraday constant, r is the radius of the disc electrode (cm), d is the diameter of the impinging jet (cm), Vf is the volume flow rate (cm3 s−1), υ the kinematic viscosity (cm2 s−1), and D the diffusion coefficient of the electroactive species (cm2 s−1) of concentration c (mol cm−3).

  2. The current is not directly proportional to the electrode area.

Source: [35]

6 Electroanalytical techniques

Electroanalytical techniques can be classified according to the controlled and measured parameters.

Source: [1], [19].

6.1 Potentiometry and related techniques

Techniques based on the measurement of potential at controlled current (constant or equal to zero). See also ion-selective electrode.

6.1.1 chronopotentiometry

Potentiometry in which the potential is measured with time following a change in applied current.

  1. The change in applied current is usually a step, but cyclic current reversals or linearly increasing currents are also used.

Source: [11] p 135.

6.1.2 potentiometry

Electrochemical measurement principle [VIM 2.4] where the potential difference between an indicator electrode and a reference electrode is measured.

  1. For measurements using ion-selective electrodes, the measurement is made under equilibrium conditions what means that the macroscopic electric current is zero and the concentrations of all species are uniform throughout the solution. The indicator electrode is in direct contact with the analyte solution, whereas the reference electrode is usually separated from the analyte solution by a salt bridge. The potential difference between the indicator and reference electrodes is normally directly proportional to the logarithm of the activity (concentration) of the analyte in the solution (Nernst equation). See also ion selective electrode.

Source: [11] p 754, [36]. See Classification of electrodes by function.

6.2 Amperometry and related techniques

Techniques based on measurement of current at a constant controlled potential.

6.2.1 amperometry

Electrochemical measurement principle based on measurement of current at a controlled applied potential.

  1. The current is usually faradaic and the applied potential is usually constant.

  2. Amperometry can be distinguished from voltammetry by the parameter being controlled (electrode potential E) and the parameter being measured (electrode current I which is usually a function of time – see chronoamperometry).

  3. In a non-stirred solution, a diffusion-limited current is usually measured, which is proportional to the concentration of an electroactive analyte.

  4. The integral of current with time is the electric charge, which may be related to the amount of substance reacted by Faraday’s laws of electrolysis.

Source: [11] p 38, [37].

6.2.2 chronoamperometry

Amperometry in which the current is measured as a function of time after a change in the applied potential.

  1. If the potential step is from a potential at which no current flows (i.e., at which the oxidation or reduction of the electrochemically active species does not take place) to one at which the current is limited by diffusion (see diffusion-limited current), the current obeys the Cottrell equation.

Source: [11] p 129, [38].

6.3 Voltammetry and related techniques

Techniques based on the measurement of current as a function of controlled time-dependent applied potential. The current vs. potential (I-E) curve is called a voltammogram.

6.3.1 ac voltammetry

Voltammetry in which a sinusoidal alternating potential of small amplitude (10 to 50 mV) of constant frequency (10 Hz to 100 kHz) is superimposed on a slowly and linearly varying potential ramp. The resulting alternating current is plotted versus imposed DC potential. The obtained AC voltammogram is peak-shaped. See Fig. 6.3.1-1.

Fig. 6.3.1-1: 
              Waveform for AC voltammetry. The applied potential as a function of time is a sinusoidal alternating potential superimposed on a linearly increasing ramp.
Fig. 6.3.1-1:

Waveform for AC voltammetry. The applied potential as a function of time is a sinusoidal alternating potential superimposed on a linearly increasing ramp.

  1. The phase angle between the alternating current and imposed DC potential is measured in the case of AC voltammetry with phase detection.

  2. In cyclic AC voltammetry, a reverse potential scan is added to the usual forward potential scan.

Source: [11] p 1.

6.3.2 chronocoulometric constant, 𝒬

Empirically-determined quantity defined by the equation

Q = ( 1 / A c ) Δ Q / Δ ( t 1 / 2 )

where A is the electrode surface area, c is the bulk concentration of the electroactive substance, Q is the charge passed, and ΔQ/Δ(t1/2) is the slope of a plot of Q against t1/2.

  1. The SI unit of 𝒬 is A s1/2 mol−1 m.

Source: [1] p 4.

6.3.3 chronopotentiometric constant, 𝒯

Empirically-evaluated quantity defined by the equation

T = I τ ½ / ( A c B ) = j τ ½ / c B

where I is the electric current, τ is the transition time, A is the electrode surface area, cB is the bulk concentration of the electroactive substance B, and j=I/A is the current density.

  1. The SI unit of 𝒯 is A s1/2 mol−1 m.

Source: [1] p 5.

6.3.4 current sampling

Measurement of electric current in voltammetry.

  1. The usual objective is to minimise the sampling time. With modern instrumentation, the interval depends on the speed of a sample-and-hold device coupled with analog-to-digital (A-to-D) conversion.

Source: [11] p 182.

6.3.5 cyclic voltammetry (CV)

cyclic linear scan voltammetry

Voltammetry in which the electric current is recorded as the electrode potential is varied with time cyclically between two potential limits, normally at a constant scan rate.

  1. The initial potential is usually the negative or positive limit of the cycle but can have any value between the two limits, as can the initial scan direction. The limits of the potential are known as the switching potentials. See Fig. 6.3.5-1(a).

  2. Normally the initial potential is chosen where no electrode reaction occurs and the switching potential is greater (more positive for an oxidation or more negative for a reduction) than the peak potential of the analyte reaction.

  3. The plot of current against potential is termed a cyclic voltammogram. Usually peak-shaped responses are obtained for scans in both directions. See Fig. 6.3.5-1(b) [4].

  4. Cyclic voltammetry is frequently used for the investigation of mechanisms of electrochemical/electrode reactions. The current-potential curve may be modelled to obtain reaction mechanisms and electrochemical parameters [39].

Fig. 6.3.5-1: 
              Cyclic voltammetry. (a) Variation of applied potential with time. (b) Cyclic voltammogram of current against applied potential for a reversible redox couple.
Fig. 6.3.5-1:

Cyclic voltammetry. (a) Variation of applied potential with time. (b) Cyclic voltammogram of current against applied potential for a reversible redox couple.

See: [11] p 184.

6.3.6 DC polarography

classical polarography

Linear scan voltammetry with slow scan rate in which a dropping mercury electrode is used as the working electrode. See Fig. 6.3.6-1.

  1. This is the oldest variant of polarographic techniques, introduced by Jaroslav Heyrovský (1890 – 1967).

  2. Usually the drop time is between 1 and 5 s and the pseudo-steady-state wave-shaped dependence on potential is called a polarogram. If the limiting current is controlled by diffusion, it is expressed by the Ilkovich equation.

  3. If the whole scan is performed on a single growing drop, the technique should be called single drop scan voltammetry. The term polarography in this context is discouraged.

Fig. 6.3.6-1: 
              
                Electric current as a function of applied potential for DC polarography, showing oscillations of current as the dropping mercury electrode grows and is detached.
Fig. 6.3.6-1:

Electric current as a function of applied potential for DC polarography, showing oscillations of current as the dropping mercury electrode grows and is detached.

See: [11] p 715.

6.3.7 differential pulse voltammetry (DPV)

Voltammetry in which small potential pulses (constant height 10 to 100 mV, constant width 10 to 100 ms) are superimposed onto a linearly varying potential or onto a staircase potential ramp. The current is sampled just before the onset of the pulse (e.g. 10 to 20 ms) and for the same sampling time just before the end of the pulse. The difference between the two sampled currents is plotted versus the potential applied before the pulse. Thus, a differential pulse voltammogram is peak-shaped.

  1. The ratio of faradaic current to charging current is enhanced and the negative influence of charging current is partially eliminated in the same way as in normal pulse voltammetry (NPV). Moreover, subtraction of the charging current sampled before the application of the pulse further decreases its negative influence. Due to the more enhanced signal (faradaic current) to noise (charging current) ratio, the limit of detection is lower than with NPV. See Fig. 6.3.7-1.

  2. The sensitivity of DPV depends on the reversibility of the electrode reaction of the analyte.

  3. Differential pulse polarography is differential pulse voltammetry in which a dropping mercury electrode is used as the working electrode. A pulse is applied before the mechanically enforced end of the drop and the current is sampled twice: just before the onset of the pulse and just before its end. The pulse width is usually 10 to 20 % of the drop life. The drop dislodgement is synchronized with current sampling, which is carried out as in DPV. See [11] p 715.

Fig. 6.3.7-1: 
              (a) Potential waveform for differential pulse voltammetry (not to scale). Typical values for pulse parameters are τ=1 s, tp=50 ms, Eτ=50 mV, Ep=2 mV. Sampling interval indicated by horizontal curly brackets is typically 15 ms. (b) Differential pulse voltammogram. I is the difference between currents sampled at ‘2’ and ‘1’.
Fig. 6.3.7-1:

(a) Potential waveform for differential pulse voltammetry (not to scale). Typical values for pulse parameters are τ=1 s, tp=50 ms, Eτ=50 mV, Ep=2 mV. Sampling interval indicated by horizontal curly brackets is typically 15 ms. (b) Differential pulse voltammogram. I is the difference between currents sampled at ‘2’ and ‘1’.

See: [11] p 206.

6.3.8 half-peak potential, Ep/2

For dynamic voltammetric techniques, the electric potential of the working electrode at which the current is equal to one-half of the peak current.

  1. This term is used in techniques providing peak-shaped responses (linear scan voltammetry, cyclic voltammetry, AC voltammetry, differential pulse voltammetry, square-wave voltammetry, stripping voltammetry, and derivative techniques).

  2. The quarter-peak potential, Ep/4, the three-quarter-peak potential, Ep3/4, etc., may be similarly defined.

Source: [1] p 59.

6.3.9 half-wave potential, E1/2

Electric potential of a steady-state voltammetric working electrode at the point, on the rising part of the voltammetric wave, where the current is equal to one-half of the limiting current.

  1. E 1/2 is used in techniques providing a sigmoidal wave-shaped current including DC voltammetry/polarography, normal pulse voltammetry, hydrodynamic voltammetry, and tast polarography.

  2. For a reversible electrode reaction and a solution containing both the oxidized (ox) and reduced (red) species, E1/2 deviates from the formal electrode potential Eo′

    E 1 / 2 E ° ( 0.0592 / z ) log 10 ( D red / D ox ) s

    where the factor 0.0592≈(RT/F)/log10(e) at 298.15 K, z is the electron number of the electrochemical reaction, and Dred and Dox are the diffusion coefficients of the reduced and oxidized form of the electroactive substance, respectively. The value of the exponent s is ½ for a stationary or dropping electrode, ⅔ for a hydrodynamic electrode, or 1 for a microelectrode.

  3. For quasi-reversible and irreversible electrode reactions, the value of E1/2 is also affected by the rate constant of the charge transfer reaction, the difference being greater than that caused by different diffusion coefficients.

  4. The quarter-wave potential, Ep/4, the three-quarter-wave potential, Ep3/4, etc., may be similarly defined.

Source: [1] p 60, [11] p 731.

6.3.10 Heyrovský-Ilkovič equation

The relationship that describes the electrode potential as a function of the current of a reversible redox system (reversible electrode reaction) in the steady state in voltammetry

E = E ° R T z F ln ( D red D ox ) S ± R T z F ln ( I d , lim I I )

where E°′ is the formal electrode potential, z the electron number of the electrochemical reaction, Dred and Dox the diffusion coefficients of the reduced and oxidized forms of the electroactive substance, respectively, Id,lim is the limiting diffusion current, and I is the current at the potential being applied. The value of the exponent s is ½ for a stationary or dropping mercury electrode, ⅔ for a hydrodynamic electrode (see hydrodynamic voltammetry), or 1 for a microelectrode. In the equation, the last term is added for reduction and subtracted for oxidation.

  1. The equation is named after Jaroslav Heyrovský (1890 – 1967) and Dionýz Ilkovič (1907 – 1980).

See [40].

6.3.11 hydrodynamic voltammetry

Voltammetry with forced flow of the solution towards the electrode surface.

  1. Mass transport of a redox species enhanced by convection in this way results in a greater electric current. Convective mass transfer occurs up to the diffusion-limiting layer, within which the mass transfer is controlled by diffusion. Electroactive substance depletion outside the diffusion layer is annulled by convective mass transfer, which results in steady-state sigmoidal wave-shaped current-potential curves.

  2. A linear potential scan, at sufficiently slow scan rates so as to ensure a steady state response, is usually applied.

  3. The forced flow can be accomplished by movement either of the solution (solution stirring, or channel flow), or of the electrode (electrode rotation or vibration).

  4. Voltammetry at a rotating disc electrode (RDE): the limiting current is described by the Levich equation.

  5. Measurement in flowing systems with electrochemical detection (ED) (high performance liquid chromatography – ED, capillary zone electrophoresis –ED, flow injection analysis – ED). See [7]

Source: [11] p 465, [41].

6.3.12 Ilkovič equation

Equation relating electric current at a dropping mercury electrode under purely diffusional control, Id,t, the amount concentration of an electroactive substance at the drop surface c, and the concentration in bulk solution c0,

I d , t = k z F D 1 / 2 q m 2 / 3 t 1 / 6 ( c c 0 )

where k is numerical constant, z the electron number of the electrochemical reaction, F the Faraday constant, D the diffusion coefficient of the electroactive substance, qm the mass flux of mercury at the dropping electrode, and t the time elapsed from the beginning of the drop.

  1. At sufficiently large overpotentials, the surface concentration c will fall to zero, giving a limiting diffusion current

    I d , lim = k z F D 1 / 2 q m 2 / 3 t 1 / 6 c 0

    Mostly, the average current (averaged over drop time and thus drop size) is calculated, when t becomes the drop time td.

  2. The value of k depends on the units used for quantities in the equation (D, qm, t, c), and whether the limiting current or the current averaged over the life of a drop is calculated. For D in cm2 s−1, qm in g s−1, t in s, and c in mol cm−3, the constant k is 708 (limiting current in A) and 607 (average current in A).

Source: [11] p 476.

6.3.13 Levich equation

Equation relating limiting current at a rotating disc electrode (see hydrodynamic voltammetry) to the amount concentration of an electroactive substance in bulk solution c0, Ilim=k z F A D2/3 ω1/2 ν−1/6c0

where k is a numerical factor, z the electron number of the electrochemical reaction, F the Faraday constant, A the electrode surface area, D the diffusion coefficient of the electroactive substance, ω the angular velocity (rotation rate), and ν the kinematic viscosity of the solution.

  1. The value of k depends on the units used for quantities in the equation (D, A, ω, ν, c), and is 1.554 for A in cm2, D in cm2 s−1, ω in Hz, ν in cm2 s−1, c0 in mol cm−3, and Ilim in A.

  2. The equation is named after Veniamin Grigorievich Levich (1917 – 1987).

Source: [11] p 555.

6.3.14 linear-scan voltammetry (LSV)

linear-sweep voltammetry

Voltammetry in which the current is recorded as the electrode potential is varied linearly with time. See Fig. 6.3.14-1 [4].

  1. The peak current is expressed by the Randles-Ševčík equation.

  2. The scan is usually started at a potential where no electrode reaction occurs.

  3. LSV corresponds to the first half cycle of cyclic voltammetry.

Fig. 6.3.14-1: 
              Linear scan voltammogram of current against applied potential for a reversible redox couple.
Fig. 6.3.14-1:

Linear scan voltammogram of current against applied potential for a reversible redox couple.

See: [11] p 559.

6.3.15 normal pulse voltammetry (NPV)

Voltammetry in which potential pulses of amplitude increasing by a constant increment and with a pulse width of 2 to 200 ms are superimposed on a constant initial potential. The current is sampled at the end of the pulse and then plotted versus the potential of the pulse. Sigmoidal wave-shaped voltammograms are obtained. See Fig. 6.3.15-1.

Fig. 6.3.15-1: 
              (a) Waveform for normal pulse voltammetry (not to scale). Typical values for pulse parameters are τ=1 s, tp=50 ms, Ep=2 mV, Estep=2 mV. Sampling interval indicated by horizontal curly brackets is typically 15 ms. (b) Normal pulse voltammogram.
Fig. 6.3.15-1:

(a) Waveform for normal pulse voltammetry (not to scale). Typical values for pulse parameters are τ=1 s, tp=50 ms, Ep=2 mV, Estep=2 mV. Sampling interval indicated by horizontal curly brackets is typically 15 ms. (b) Normal pulse voltammogram.

  1. The current is sampled just before the end of the pulse, when the charging current is greatly diminished. In this way, the ratio of faradaic current to charging current is enhanced and the negative influence of charging current is partially eliminated. Due to the improved signal (faradaic current) to noise (charging current) ratio, the limit of detection is lowered.

  2. The sensitivity of NPV is not affected by the reversibility of the electrode reaction of the analyte.

  3. Normal pulse polarography is NPV in which a dropping mercury electrode is used as the working electrode. A pulse is applied just before the mechanically enforced end of the drop. The pulse width is usually 10 to 20 % of the drop time. The drop dislodgment is synchronized with current sampling, which is carried out just before the end of the pulse, as in NPV. See [11] p 716.

Source: [11] p 630, [4].

6.3.16 peak potential, Ep

Electrode potential of the working electrode at which the peak current is attained.

  1. This term is used in dynamic voltammetric techniques providing a peak-shaped current response (linear-sweep voltammetry, triangular-wave voltammetry, cyclic voltammetry, AC voltammetry, differential pulse voltammetry, square-wave voltammetry, stripping voltammetry and derivative techniques).

Source: [1] p 61.

6.3.17 pulse duration, tp

Time interval during which the excitation signal deviates from the base line in normal pulse voltammetry, differential pulse voltammetry, and related techniques.

  1. The pulse duration includes the sampling interval. See Fig. 6.3.17-1.

Fig. 6.3.17-1: 
              Staircase voltage ramp of applied potential against time, showing pulse duration, sampling interval (indicated also by horizontal curly brackets), and sampling time.
Fig. 6.3.17-1:

Staircase voltage ramp of applied potential against time, showing pulse duration, sampling interval (indicated also by horizontal curly brackets), and sampling time.

Source: [1] 65.

6.3.18 quarter-transition-time potential, Eτ/4

Electric potential of the indicator electrode, in chronopotentiometry at constant current, at the instant when the time that has elapsed since the application of current is equal to one-fourth of the transition time.

  1. In practice, appropriate correction for the double-layer charging current is needed.

Source: [1] p 62.

6.3.19 Randles-Ševčík equations

Equations describing the peak current Ip in linear scan voltammetry and cyclic voltammetry as a function of the amount concentration, c0, of electroactive species in bulk solution.

For a reversible charge transfer:

I p , rev = k z F A c 0 ( z F D ν / R T ) 1 / 2

for irreversible charge transfer:

I p , irrev = k ( α z ) 1 / 2 z F A c 0 ( F D ν / R T ) 1 / 2

where k and k′ are numerical constants, α is the charge transfer coefficient (usually assumed to be close to 0.5), z the electron number of the electrochemical reaction, z′ the number of electrons transferred before the rate determining step, F the Faraday constant, R the gas constant, T the thermodynamic temperature, A the electrode surface area, D the diffusion coefficient, and ν the scan rate.

  1. For A in cm2, D in cm2 s−1, ν in cm2 s−1, and c0 in mol cm−3, and Ip in A.

T=298.15 K for reversible charge transfer k=0.446, and for irreversible charge transfer, k′=0.496.

Source: [11] p 784.

6.3.20 rate of flow of liquid metal in polarography, qm

mass flux

Mass of a drop of liquid metal in polarography at the instant when it is detached from the tip of the capillary divided by the drop time td.

  1. The liquid is usually mercury.

Source: [1] p 67.

6.3.21 sampled DC polarography

TAST polarography

DC polarography with current sampling at the end of each drop life mechanically enforced by a knocker at a preset drop time value. The current sampling and mechanical drop dislodge are synchronized.

  1. In this way, the ratio of faradaic current to double layer charging current is enhanced and the negative influence of charging current is partially eliminated. Due to the improved signal (faradaic current) to noise (charging current) ratio, the limit of detection is lowered.

Source: [11] p 717.

6.3.22 sampling interval

Time interval during which the current is measured in pulse voltammetry.

Source: [1] p 72. See current sampling, pulse duration, Fig. 6.3.17-1.

6.3.23 sampling time, tm

Duration of the sampling interval in pulse voltammetry.

Source: [1] p 73. See pulse duration, Fig. 6.3.17-1.

6.3.24 scan rate, ν

sweep rate

potential scan rate

potential sweep rate

The rate of change of applied potential with time.

  1. Scan rate has SI unit V s−1.

Source: [11] p 747.

6.3.25 square-wave voltammetry (SWV)

Osteryoung square-wave voltammetry (OSWV)

Voltammetry in which a square-wave potential waveform is superimposed on an underlying linearly varying potential ramp or staircase ramp. The current is sampled just before the end of the forward-going pulse and of the backward-going pulse and the difference of the two sampled currents is plotted versus the applied potential of the potential or staircase ramp. The square-wave voltammogram is peak-shaped. See Fig. 6.3.25-1.

  1. The sensitivity of SWV depends on the reversibility of the electrode reaction of the analyte.

  2. Most instruments show plots of the current at the end of the forward-going pulse and of the backward-going pulse vs. the potential, as well as their difference. This can give valuable information on the kinetics of the electrode reaction and the electrode process.

Fig. 6.3.25-1: 
              (a) Waveform for square wave voltammetry (not to scale). Typical values for pulse parameters are τ=10 ms, tp=5 ms, Eτ=25 mV, Estep=4 mV. Sampling interval indicated by horizontal curly brackets is typically 1 ms. (b) Square wave voltammogram of the difference between currents sampled at ‘2’ and ‘1’ against applied potential.
Fig. 6.3.25-1:

(a) Waveform for square wave voltammetry (not to scale). Typical values for pulse parameters are τ=10 ms, tp=5 ms, Eτ=25 mV, Estep=4 mV. Sampling interval indicated by horizontal curly brackets is typically 1 ms. (b) Square wave voltammogram of the difference between currents sampled at ‘2’ and ‘1’ against applied potential.

Source: [11] p 660, 874, [42].

6.3.26 transition time, τ

In chronopotentiometry and related techniques, the duration between the application of current and when the concentration of an electroactive substance at the electrode-solution interface becomes indistinguishable from zero.

  1. In experimental practice, the latter is often taken to be the moment when the rate of variation of the potential of the indicator electrode attains a maximum value.

Source: [1] 77.

6.3.27 voltammetry

Electrochemical measurement principle [VIM 2.4] in which the electrode potential of a working electrode is controlled and the electric current measured.

6.3.28 voltammogram

Current-potential curve in a voltammetry experiment.

6.4 Electrochemical pre-concentration/stripping methods

Traditional electrochemical methods targeted the concentration of metal ions, but these are rarely used, being superseded by spectroscopic methods based on inductively coupled plasma, or ion chromatography, except for field measurements outside the laboratory. However, the ability to investigate speciation gives added value compared to methods that can only measure the total amount of an element. Preconcentration/stripping is finding novel uses in the biological analysis of very low concentrations of compounds (e.g. DNA, RNA, peptides), or of cells with specific motifs, such as cancer markers.

6.4.1 accumulation in stripping voltammetry

accumulation

Transfer of an analyte from a test solution to an electrode surface as the first step in stripping voltammetry.

  1. Analyte accumulation can be achieved by the following methods:

    1. electrodeposition of metal atoms onto a solid electrode,

    2. reduction of metal ions on a mercury electrode and dissolution of the formed metal atoms in the mercury (amalgam formation),

    3. precipitation of sparingly soluble mercuric, mercurous, or silver salts on mercury or silver electrodes,

    4. precipitation of metal oxides, hydroxides, or other insoluble salts on an inert (usually noble metal or carbon) electrode,

    5. chemical reaction of an analyte with an electrode material,

    6. adsorption of electroactive organic substances,

    7. adsorption of complexes of metal ions with organic ligands,

    8. synergistic adsorption of complexes,

    9. anion-induced adsorption of metal ions,

    10. surface complexation of metal ions,

    11. ion-exchange reactions at surface-modified electrodes,

    12. extraction by ion transfer across the interface of two immiscible electrolyte solutions, [36],

    13. reaction by biological recognition processes involving nucleic acids, antibodies, enzymes, etc.

  2. 50 to 150 nm magnetic particles of gold-coated Fe3O4, modified with the tripeptide Gly-Gly-His to capture Cu2+ [43]. Particles are then returned to an electrode surface by a magnetic field [44].

6.4.2 adsorptive stripping voltammetry (AdSV)

Stripping voltammetry involving pre-concentration by adsorption of the analyte (in contrast to electrochemical accumulation).

  1. AdSV is usually employed for analysis of organic compounds or metal complexes with organic ligands. Stripping is done by means of an anodic or a cathodic voltammetric scan (linear or pulse), during which the adsorbed compound is oxidized or reduced.

  2. A peak-shaped adsorptive stripping voltammogram is obtained. Peak current depends on time of accumulation, mass transport of analyte (stirring), scan rate and mode (linear or pulse), and analyte concentration in solution.

Source: [11] p 21.

6.4.3 anodic stripping voltammetry (ASV)

Stripping voltammetry in which material accumulated at the working electrode is electrochemically oxidized in the stripping step.

  1. A peak-shaped anodic stripping voltammogram is obtained. Peak current depends on time of accumulation, mass transport of analyte (stirring), scan rate and mode (linear or pulse), and analyte concentration in solution.

  2. A solid electrode, carbon paste or composite electrode, bismuth film electrode, mercury film electrode, or static mercury drop electrode may be used. See section 5.3.

Source: [11] p 43.

6.4.4 cathodic stripping voltammetry (CSV)

Stripping voltammetry in which material accumulated at the working electrode is electrochemically reduced in the stripping step. See Fig. 6.4.4-1.

Fig. 6.4.4-1: 
              
                Applied potential against time during the accumulation and stripping steps in cathodic stripping voltammetry.
Fig. 6.4.4-1:

Applied potential against time during the accumulation and stripping steps in cathodic stripping voltammetry.

  1. A peak-shaped cathodic stripping voltammogram is obtained. Peak current depends on time of accumulation, mass transport of analyte (stirring), scan rate and mode (linear or pulse), and analyte concentration in solution.

Source: [11] p 109.

6.4.5 potentiometric stripping analysis (PSA)

Two-step electrochemical measurement in which 1) material is accumulated at an electrode and 2) the material is removed by chemical reaction or electrochemically at constant current with measurement of electrode potential. The time between changes in potential in step 2 is related to the concentration of analyte in the solution.

  1. The accumulation is similar to that used in stripping voltammetry.

  2. The stripping potentiogram shows staircase curves of potential as a function of time. Frequently, the first derivative is displayed (dE/dt=f(t)), as this produces peak-shaped signals. The time between transitions (peaks) is proportional to the concentration of analyte in the test solution.

  3. Historically for the analysis of metal ions, mercury ions were added to the test solution to form a mercury amalgam when reduced. Alternatively, an HMDE or MFE was used and the oxidizing agent added after amalgam formation. However, the toxicity of mercury and its compounds have all but precluded the present-day use of mercury.

Source: [11] p 754.

6.4.6 stripping voltammetry

Two-step electrochemical measurement in which 1) material is accumulated at an electrode and 2) the amount of an accumulated species is measured by voltammetry. The measured electric current in step 2 is related to the concentration of analyte in the solution by calibration.

  1. Types of stripping voltammetry refer to the kind of accumulation (e.g. adsorptive stripping voltammetry) or the polarity of the stripping electrochemistry (anodic, cathodic stripping voltammetry).

  2. Stripping voltammetry is a calibrated method to establish the relation between amount accumulated in a given time and the concentration of the analyte in solution.

  3. Because the accumulation (pre-concentration) step can be prolonged, increasing the amount of material at the electrode, stripping voltammetry is able to measure very small concentrations of analyte.

  4. Often the product of the electrochemical stripping is identical to the analyte before the accumulation.

  5. Anodic stripping voltammetry (ASV) was historically used to measure concentrations of metal ions in solution using cathodic accumulation with mercury to form an amalgam. Due to the toxicity of mercury and its compounds, inductively coupled plasma optical emission spectrometry and inductively coupled plasma mass spectrometry have frequently replaced ASV at mercury electrodes in the laboratory, often sacrificing the probing of speciation and lability in complex matrices. Mercury has now been replaced by non-toxic bismuth or antimony as films on a solid electrode support (such as glassy carbon) with equally good sensitivity and detection limits.

6.5 Coulometry and related techniques

6.5.1 chronocoulometry

Direct coulometry at controlled potential in which the electric charge passed after the application of a potential step perturbation is measured as a function of time (Q-t curve).

  1. Chronocoulometry provides the same information that is provided by chronoamperometry, since it is based on the integration of the I-t curve. Nevertheless, chronocoulometry offers important experimental advantages, such as (i) the measured signal usually increases with time and hence the later parts of the transient can be detected more accurately, (ii) a better signal-to-noise ratio can be achieved, and (iii) other contributions to overall charge passed as a function of time can be discriminated from those due to the diffusion of electroactive substances.

Source: [11] p 131.

6.5.2 coulometer

Measuring instrument [VIM 3.1] to obtain the electrical charge passed in an experiment, or to produce a known amount of substance in a titration.

  1. The silver coulometer is a primary reference measurement procedure [VIM 2.8] for charge and current. By weighing the mass of silver deposited in a known time at constant current, the charge and current are calculated from Faraday’s laws of electrolysis [45].

  2. Modern instruments for measuring trace water by Karl Fischer titration use the passage of a measured charge to produce iodine from iodide solution. They are known as Karl Fischer coulometers [46].

See coulometric titration.

6.5.3 coulometric titration

Titration in which the titrant is generated electrochemically, either by constant current or at constant potential. The titrant reacts stoichiometrically with the analyte, the amount of which is calculated using Faraday’s laws of electrolysis from the electric charge required to reach the end-point.

  1. Coulometric titrations are usually carried out in convective mass transfer mode using a large surface working electrode. The reference and auxiliary electrodes are located in separate compartments. A basic requirement is a 100 % current efficiency of titrant generation at the working electrode. End-point detection can be accomplished with potentiometry, amperometry, biamperometry, bipotentiometry, photometry, or by using a visual indicator.

  2. The main advantages are that titration is possible with less stable titrants, the standardization of titrant is not necessary, the volume of the test solution is not changed, and the method is easily automated.

Source: [11] p 167.

6.5.4 coulometry

Electrochemical measurement principle [VIM 2.4] in which the electric charge required to carry out a known electrochemical reaction is measured. By Faraday’s laws of electrolysis, the amount of substance is proportional to the charge.

  1. Coulometry used to measure the amount of substance is a primary reference measurement procedure [VIM 2.8] not requiring calibration with a standard for a quantity of the same kind (i.e. amount of substance).

  2. The coulometric experiment can be carried out at controlled (constant) potential (see direct coulometry at controlled potential) or controlled (constant) current (see direct coulometry at controlled current).

6.5.5 direct coulometry at controlled current

Coulometry at an imposed, constant current in the electrochemical cell.

  1. Direct coulometry at controlled current is usually carried out in convective mass transfer mode. The end-point of the electrolysis, at which the current is stopped, must be determined either from the inflection point in the Et curve or by using visual or objective end-point indication, similar to volumetric methods. The total electric charge is calculated as the product of the constant current and time of electrolysis or can be measured directly using a coulometer.

  2. The advantage of this method is that the electric charge consumed during the electrode reaction is directly proportional to the electrolysis time. Care must be taken to avoid the potential region where another electrode reaction may occur.

Source: [11] p 167, [47].

6.5.6 direct coulometry at controlled potential

Coulometry at a preselected constant potential of the working electrode.

  1. Direct coulometry at controlled potential is usually carried out in convective mass transfer mode using a large surface working electrode. Reference and auxiliary electrodes are placed in separate compartments. The total electric charge is obtained by integration of the It curve or can be measured directly using a coulometer.

  2. In principle, the end point at which I=0, i.e. when the concentration of species under study becomes zero, can be reached only at infinite time. However, in practice, the electrolysis is stopped when the current has decayed to a few percent of the initial value and the charge passed at infinite time is calculated from a plot of charge Q(t) against time t. For a simple system under diffusion control Qt=Q[1−exp(−DAt/)], where Q=limt→∞Q(t) is the total charge passed at infinite time, D is the diffusion coefficient of the electroactive species, A the electrode area, δ the diffusion layer thickness, and V the volume of the solution. See Fig. 6.5.6-1.

Fig. 6.5.6-1: 
              Electric current against time showing the representation of the electric charge in direct coulometry at controlled potential as the area under the graph.
Fig. 6.5.6-1:

Electric current against time showing the representation of the electric charge in direct coulometry at controlled potential as the area under the graph.

See chronocoulometry, chronoamperometry

Source: [11] p 167, [47].

6.6 Electrogravimetry and related techniques

6.6.1 electrochemical piezoelectric microgravimetry

Electrogravimetry using an electrochemical quartz crystal microbalance.

  1. The change of mass is, for rigid deposits, linearly proportional to the change of the resonance frequency of the quartz crystal, according to the Sauerbrey equation [48]. For non-rigid deposits, corrections must be made.

Source: [11] p 262.

6.6.2 electrochemical quartz crystal microbalance (EQCM)

electrochemical quartz crystal nanobalance (EQCN)

Electrochemical cell in which the working electrode is located on one surface of a piezoelectric quartz crystal, the oscillation frequency of which is measured.

  1. The electrode may be chemically modified.

  2. The change in resonant frequency (proportional to mass changes) is measured during electrochemical processes, such as linear scan voltammetry or cyclic voltammetry, giving simultaneous information on changes in mass and charge transfer.

See electrochemical piezoelectric microgravimetry.

Source: [49] 3.3.

6.6.3 electrogravimetry

Gravimetry in which the material to be weighed is obtained by electrochemical reaction.

  1. The electrolysis can be performed by controlling current or electrode potential or, in the simple two-electrode arrangement, controlling the potential difference between the two electrodes.

  2. When the precipitate has a known stoichiometric composition, electrogravimetry is a primary reference measurement procedure [VIM 2.8] not requiring calibration with a standard for a quantity of the same kind (i.e. amount of substance).

Source: [49] 5.2.2. Notes [11] p 298.

6.7 Conductometry and related techniques

Techniques based on the measurement of test sample conductivity.

6.7.1 conductometric titration

Titration ([4] p 49) in which the electric conductivity of a solution is measured as a function of the amount of titrant added.

  1. The method is based on replacing an ionic species of the analyte with another species, corresponding to the titrant or the product with significantly different conductance.

  2. The equivalence-point is obtained as the intersection of linear parts of the conductance G, versus titrant volume V, curve (see Fig. 6.7.1-1).

  3. The method can be used for deeply coloured or turbid solutions. Acid-base and precipitation reactions are most frequently used.

Fig. 6.7.1-1: 
              Conductimetric titration curve of conductance (G) against volume of titrant. The end-point of the titration is indicated by a change in slope of the graph.
Fig. 6.7.1-1:

Conductimetric titration curve of conductance (G) against volume of titrant. The end-point of the titration is indicated by a change in slope of the graph.

Source: [11] p 153.

6.7.2 conductometry

Measurement principle [VIM 2.4] in which the electric conductivity of a solution is measured.

  1. The conductivity of a solution depends on the concentration and nature of ions present.

  2. Monitoring of the purity of deionized water.

Source: [11] p 153.

6.8 Methods based on measurement of impedance

6.8.1 dielectrometry

Electrochemical measurement principle [VIM 2.4] based on the measurement of the dielectric constant of a sample resulting from the orientation of particles (molecules or ions) that have a dipole moment in an electric field.

  1. The method is used to monitor the purity of dielectrics, for example to detect small amounts of moisture.

  2. Dielectrometric titrations use dielectrometry for the end-point detection.

6.8.2 electrochemical impedance spectroscopy (EIS)

Electrochemical measurement method [VIM 2.5] of the complex impedance of an electrochemical system as a function of the frequency of a small amplitude (normally 5 to 10 mV) sinusoidal voltage perturbation superimposed on a fixed value of applied potential or on the open circuit potential.

  1. The sinusoidal current response lags behind the sinusoidal voltage perturbation by a phase angle ϕ. Resistances (e.g. to charge transfer) give a response in phase with the voltage perturbation; capacitances (e.g. double layer) give a response 90° out of phase; combinations of resistances and capacitances give phase angles between 0 and 90°. Plots of the out of phase vs. the in phase component of the impedance for all the frequencies tested are called complex plane (or Nyquist) plots. Plots of the phase angle and the magnitude of the impedance vs. the logarithm of perturbation frequency are called Bode diagrams. Complex plane plots are the more commonly used for electrochemical sensors.

  2. Impedimetric sensors are based on measurement of a concentration-dependent parameter taken from analysis of the respective electrochemical impedance spectra, or from the impedance magnitudes at a chosen fixed frequency.

Source: [11] p 256.

6.8.3 impedimetry

Measurement principle [VIM 2.4] in which the complex electric impedance of a system is measured, usually as a function of a small amplitude sinusoidal electrode potential.

See: electrochemical impedance spectroscopy.

6.9 Combined methods

6.9.1 electrochemical detection in flowing systems

Electrochemical techniques (potentiometry, amperometry, voltammetry, coulometry, conductimetry) used for analyte detection in flowing systems.

  1. Measurement in flowing systems (e.g. flow injection analysis) should be differentiated from batchwise determination in individual fractions obtained after separation (e.g., high performance liquid chromatography, capillary zone electrophoresis).

Source: [7], [41], [50], [51].

6.9.2 spectroelectrochemistry

Measurement methods [VIM 2.5] combining spectrometric and electrochemical measurements.

  1. A UV–Vis light beam is directed through an electrode or through an adjacent diffusion layer in an electrochemical cell, and the changes in absorbance, resulting from the species generated or consumed in the electrode process or being present at electrode–solution interface, are monitored.

  2. With optically transparent electrodes (OTE), molecular adsorbates, polymer films, or other modifying layers attached to the electrode surface or being present in the phase adjacent to the electrode can be studied. By coupling a spectroscopic technique such as UV/Vis/NIR spectroscopy to an electrochemical experiment, complementary information as a function of the potential, time, and mass transport is available.

Source: [20] p 168, [52].

7 Index

ac voltammetry 6.3.1
accumulation 6.4.1
accumulation in stripping voltammetry 6.4.1
adsorption current Table 3.7-1
adsorptive stripping voltammetry 6.4.2
all-solid-state ion-selective electrode 5.4.1
alternating current Table 3.7-1
amperometry 6.2.1
Amperometry and related techniques 6.2
anode 3.1
anodic stripping voltammetry 6.4.3
apparent number of electrons transferred 3.2
applied potential 3.3
auxiliary electrode Table 5.2-1
background current Table 3.7-1
base electrolyte 4.16
bioanalytical sensor 4.6
Carbon electrodes 5.3.1
catalytic current Table 3.7-1
cathode 3.4
cathodic stripping voltammetry 6.4.4
charge number 3.14
chemical modifier 5.3.2
chemically sensitive field effect transistor 5.3.3
chemically-modified electrode 5.3.4
chronoamperometry 6.2.2
chronocoulometric constant 6.3.2
chronocoulometry 6.5.1
chronopotentiometric constant 6.3.3
chronopotentiometry 6.1.1
classical polarography 6.3.6
Classification of electrodes by chemical composition 5.3
Classification of electrodes by function 5.2
Classification of electrodes by size 5.1
combined electrode 5.4.2
Combined methods 6.9
Composite electrodes 5.3.5
conductometric titration 6.7.1
conductometry 6.7.2
Conductometry and related techniques 6.7
Cottrell equation 4.1
coulometer 6.5.2
coulometric titration 6.5.3
coulometry 6.5.4
Coulometry and related techniques 6.5
counter electrode Table 5.2-1
current (phenomenon) 3.6
current (quantity) 3.7
current sampling 6.3.4
current-potential curve 4.2
cyclic linear scan voltammetry 6.3.5
cyclic voltammetry 6.3.5
DC polarography 6.3.6
dielectrometry 6.8.1
differential pulse voltammetry 6.3.7
diffusion current Table 3.7-1
diffusion current constant, I 4.3
diffusion-limited current Table 3.7-1
direct coulometry at controlled current 6.5.5
direct coulometry at controlled potential 6.5.6
direct current Table 3.7-1
Donnan potential 5.4.13
double-layer current, charging current Table 3.7-1
drop time 4.4
electric charge 3.5
electric current 3.6
electric current (quantity) 3.7
electroactive substance 4.5
electrochemical biosensor 4.6
electrochemical cell 3.8
electrochemical constants 3.9
electrochemical detection in flowing systems 6.9.1
electrochemical impedance spectroscopy 6.8.2
electrochemical piezoelectric microgravimetry 6.6.1
Electrochemical pre-concentration/stripping methods 6.4
electrochemical quartz crystal microbalance 6.6.2
electrochemical quartz crystal nanobalance 6.6.2
electrochemical sensor 4.7
electrode 3.10
electrode array 5.4.3
electrode coverage 4.8
electrode coverage densit 4.8
electrode potential 3.11
electrode surface area 4.9
electrogravimetry 6.6.3
Electrogravimetry and related techniques 6.6
electrolyte 3.12
electrolytic cell 3.13
electron number of an electrochemical reaction 3.14
enzyme electrode 5.3.6
enzyme-modified electrode 5.3.6
equilibrium electrode potential 3.15
faradaic current Table 3.7-1
Faraday’s laws of electrolysis 4.10
formal electrode potential 3.16
formal potential 3.16
galvanic cell 3.17
galvanostat 4.11
glass electrode 5.4.4
glass pH-sensitive electrode 5.4.4
half-peak potential 6.3.8
half-wave potential 6.3.9
heterogeneous crystalline membrane electrode 5.4.5
heterogeneous crystalline membrane ion-selective electrode 5.4.5
Heyrovský-Ilkovič equation 6.3.10
homogeneous crystalline membrane electrode 5.4.6
homogeneous crystalline membrane ion-selective electrode 5.4.6
hydrodynamic voltammetry 6.3.11
Ilkovič equation 6.3.12
impedimetry 6.8.3
indicator electrode Table 5.2-1
indifferent electrolyte 4.16
inert electrolyte 4.16
inner reference electrode (deprecated) 5.4.7
instantaneous current Table 3.7-1
internal reference electrode 5.4.7
ion-selective electrode 5.4.8
ion-selective electrode cell 5.4.9
ion-selective field effect transistor 5.4.10
ion-selective membrane 5.4.11
isopotential point 5.4.12
kinetic current Table 3.7-1
Levich equation 6.3.13
limiting current Table 3.7-1
limiting diffusion current Table 3.7-1
line representation of electrochemical cells 3.18
linear-scan voltammetry 6.3.14
linear-sweep voltammetry 6.3.14
macroelectrode Table 5.1-1
mass flux 6.3.20
membrane potential 5.4.13
metal contact ion-selective electrode 5.4.1
Metal electrodes 5.3.7
Methods based on measurement of impedance 6.8
microelectrode Table 5.1-1
migration current Table 3.7-1
nanode (not recommended) Table 5.1-1
nanoelectrode Table 5.1-1
Nernst equation 3.19
Nernst potential 3.15
Nernstian response 5.4.14
net faradaic current Table 3.7-1
Nikolsky-Eisenman equation 5.4.15
normal pulse voltammetry 6.3.15
number of electrons transferred 3.14
open circuit potential 4.12
open circuit voltage (deprecated) 4.12
Osteryoung square-wave voltammetry 6.3.25
Other electrode systems 5.4
overpotential 3.20
overvoltage (deprecated) 3.20
peak current Table 3.7-1
peak potential 6.3.16
pH electrode 5.4.4
pH-sensitive electrode 5.4.16
polarizable electrode 4.13
potential scan rate 6.3.24
potential sweep rate 6.3.24
potentiometric enzyme electrode 5.4.17
potentiometric gas sensor 5.4.18
potentiometric selectivity coefficient, 5.4.19
potentiometric stripping analysis 6.4.5
potentiometry 6.1.2
Potentiometry and related techniques 6.1
potentiostat 4.14
pseudo-reference electrode (deprecated) Table 5.2-1
pseudo-reference electrode (deprecated) 5.2
pulse duration 6.3.17
quantity of electricity 3.5
quarter-transition-time potential 6.3.18
quasi-reference electrode (QRE) Table 5.2-1
Randles-Ševčík equations 6.3.19
rate of flow of liquid metal in polarography 6.3.20
reference electrode Table 5.2-1
reference half-cell Table 5.2-1
reference half-cell 5.2
residual current Table 3.7-1
response time at an ISE 5.4.20
reversible potential 3.15
rotating disc electrode 5.4.21
rotating ring-disc electrode 5.4.21
salt bridge 4.15
sampled DC polarography 6.3.21
sampling interval 6.3.22
sampling time 6.3.23
scan rate 6.3.24
secondary electrode Table 5.2-1
selectivity coefficient 5.4.19
selectivity constant (deprecated) 5.4.19
selectivity factor (deprecated) 5.4.19
spectroelectrochemistry 6.9.2
square-wave current Table 3.7-1
square-wave voltammetry 6.3.25
standard electrode potential 3.21
standard electrode potential of an electrochemical reaction 3.22
standard potential 3.21
stripping voltammetry 6.4.6
supporting electrolyte 4.16
sweep rate 6.3.24
TAST polarography 6.3.21
three-electrode cell 4.17
transition time 6.3.26
ultramicroelectrode (obsolete, not recommended) Table 5.1-1
voltage (deprecated) 3.3
voltammetry 6.3.27
Voltammetry and related techniques 6.3
voltammogram 6.3.28
wall-jet electrode 5.4.22
working electrode Table 5.2-1
working potential range 4.18

8 Index of abbreviations and symbols

8.1 Symbols

η, Eη overpotential 3.20
ν scan rate 6.3.24
Γ electrode coverage density 4.8
τ transition time 6.3.26
A electrode surface area 4.9
E electrode potential 3.11
E° standard electrode potential of an electrochemical reaction 3.21
E°′ formal electrode potential 3.16
E°, E standard electrode potential 3.22
E 1/2 half-wave potential 6.3.9
E app applied potential 3.3
E eq equilibrium electrode potential 3.15
E M membrane potential, 5.4.13
E p peak potential 6.3.16
E p/2 half-peak potential 6.3.8
E step step potential. See: square-wave voltammetry 6.3.25
Eτ /4 quarter-transition-time potential 6.3.18
I diffusion current constant 4.3
I electric current (quantity) 3.7
I ads adsorption current Table 3.7-1
I ac alternating current Table 3.7-1
I cat catalytic current Table 3.7-1
I DL double-layer current, charging current Table 3.7-1
I d diffusion current Table 3.7-1
I dc direct current Table 3.7-1
I f faradaic current Table 3.7-1
I k kinetic current Table 3.7-1
I net faradaic current Table 3.7-1
It instantaneous current Table 3.7-1
I lim limiting current Table 3.7-1
I d,lim diffusion-limited current, limiting diffusion current, Table 3.7-1
I m migration current Table 3.7-1
I p peak current Table 3.7-1
I r residual current, background current Table 3.7-1
I SW square-wave current Table 3.7-1
K A,B pot potentiometric selectivity coefficient 5.4.19
𝒬 chronocoulometric constant 6.3.2
Q electric charge 3.5
q m rate of flow of liquid metal in polarography 6.3.20
𝒯 chronopotentiometric constant 6.3.3
t d drop time 4.4
t m sampling time 6.3.23
t p pulse duration 6.3.17
t R response time at an ISE 5.4.20
U electrode potential 3.11
z electron number of an electrochemical reaction 3.14
z app apparent number of electrons transferred 3.2

8.2 Acronyms and initialisms

AdSV adsorptive stripping voltammetry 6.4.2
ASV anodic stripping voltammetry 6.4.3
ChemFET chemically sensitive field effect transistor 5.3.3
CME chemically-modified electrode 5.3.4
CSV cathodic stripping voltammetry 6.4.4
CV cyclic voltammetry 6.3.5
DME dropping mercury electrode Table 5.3.7-1
DPV differential pulse voltammetry 6.3.7
EIS electrochemical impedance spectroscopy 6.8.2
EQCM electrochemical quartz crystal microbalance 6.6.2
EQCN electrochemical quartz crystal nanobalance 6.6.2
HMDE hanging mercury drop electrode Table 5.3.7-1
ISE ion-selective electrode 5.4.8
ISFET ion-selective field effect transistor 5.4.10
LSV linear-scan voltammetry 6.3.14
MFE mercury film electrode Table 5.3.7-1
NE nanoelectrode Table 5.1-1
NPV normal pulse voltammetry 6.3.15
OCP open circuit potential 4.12
OSWV Osteryoung square-wave voltammetry 6.3.25
PSA potentiometric stripping analysis 6.4.5
QRE quasi-reference electrode Table 5.2-1
RDE rotating disc electrode 5.4.21
RRDE rotating ring-disc electrode. See: rotating disc electrode 5.4.21
SWV square-wave voltammetry 6.3.25
TMFE thin mercury film electrode Table 5.3.7-1
UME ultramicroelectrode (obsolete, not recommended) Table 5.1-1

9 Membership of sponsoring bodies

The membership of Division V (Analytical) at the start of this project was

President: D. B. Hibbert; Vice-President: J. Labuda; Secretary: M. Zoltán; Past President: M. F. Camões; Titular Members: C. Balarew, Y. Chen; A. Felinger, H. Kim, M. C. Magalhães, H Sirén; Associate Members: R. Apak, P. Bode, D. Craston, Y. H. Lee, T. Maryutina, N. Torto; National Representatives: O. C. Othman, L. Charles, P. De Bièvre, M. Eberlin, A. Fajgelj, K Grudpan, J. Hanif, D. Mandler, P. Novak, and D. Shaw.

The present (2018–2019) membership of Division V is

President: Zoltan Mester; Vice President: Érico M. M. Flores; Secretary: Takae Takeuchi; Past President: Ján Labuda; Titular Members: Medhat Al-Ghobashy, Derek Craston, Attila Felinger, Irene Rodriguez Meizoso, Sandra Rondinini, David Shaw; Associate Members: Jiří Barek, M. Filomena Camões, Ilya Kuselman, M. Clara Magalhães, Tatyana Maryutina; National Representatives: Boguslaw Buszewski, Mustafa Culha, D. Brynn Hibbert, Hongmei Li, Wandee Luesaiwong, Serigne Amadou Ndiaye, Mariela Pistón Pedreira, Frank Vanhaecke, Earle Waghorne, Susanne Wiedmer.


Article note

This work was started under the project 2010-052-1-500: Electroanalytical Chemistry – Revision of the Orange Book Chapter 7, with membership of José M. Pingarrón, Ján Labuda, Maria Filomena Camões, Christopher M.A. Brett, and D. Brynn Hibbert. Article note: Sponsoring body: IUPAC Analytical Chemistry Division: see more details on page 692.


Award Identifier / Grant number: 2010-052-1-500

Funding statement: International Union of Pure and Applied Chemistry, Funder Id: http://dx.doi.org/10.13039/100006987, Grant Number: 2010-052-1-500.

References

[1] L. Meites, P. Zuman, H. Nurnberg. Pure Appl. Chem.57, 1491 (1985).10.1351/pac198557101491Search in Google Scholar

[2] L. Meites, H. W. Nurnberg, P. Zuman. Pure Appl. Chem.45, 81 (1976).10.1351/pac197645020081Search in Google Scholar

[3] L. Meites. Pure Appl. Chem.51, 1159 (1979).10.1351/pac197951051159Search in Google Scholar

[4] J. Inczedy, T. Lengyel, A. M. Ure. IUPAC Compendium of Analytical Nomenclature. Definitive Rules 1997. (Third Edition of the Orange Book). Port City Press, Baltimore, USA (1998).Search in Google Scholar

[5] D. B. Hibbert, ed. IUPAC Compendium of Terminology in Analytical Chemistry (Fourth edition of the Orange Book). Royal Society of Chemistry, London (in preparation).Search in Google Scholar

[6] E. R. Cohen, T. Cvitaš, J. G. Frey, B. Holmström, K. Kuchitsu, R. Marquardt, I. Mills, F. Pavese, M. Quack, J. Stohner, H. L. Strauss, M. Tamaki, A. Thor. Quantities, Units and Symbols in Physical Chemistry (Green Book), 3rd Edition. The Royal Society of Chemistry, Cambridge (2007).Search in Google Scholar

[7] A. Maryutina Tatiana, Y. Savonina Elena, S. Fedotov Petr, M. Smith Roger, H. Siren, D. B. Hibbert. Pure Appl. Chem.90, 181 (2018).10.1515/pac-2017-0111Search in Google Scholar

[8] Joint Committee for Guides in Metrology JCGM 200. International vocabulary of metrology – Basic and general concepts and associated terms (VIM): 2012 BIPM, Sèvres.Search in Google Scholar

[9] ISO 80000-1 (2009). Quantities and Units – Part 1 : General 2009 International Organization for Standardization, Geneva.Search in Google Scholar

[10] Commission on Electroanalytical Chemistry. Pure Appl. Chem.45, 131 (1976).10.1351/pac197645020131Search in Google Scholar

[11] A. J. Bard, G. Inzelt, F. Scholz. Electrochemical Dictionary. Springer Berlin Heidelberg, Berlin (2012).10.1007/978-3-642-29551-5Search in Google Scholar

[12] D. B. Newell, F. Cabiati, J. Fischer, K. Fujii, S. G. Karshenboim, H. S. Margolis, E. d. Mirandés, P. J. Mohr, F. Nez, K. Pachucki, T. J. Quinn, B. N. Taylor, M. Wang, B. M. Wood, Z. Zhang. Metrologia55, L13 (2018).10.1088/1681-7575/aa950aSearch in Google Scholar

[13] S. Trasatti. Pure Appl. Chem.58, 955 (1986).10.1351/pac198658070955Search in Google Scholar

[14] C. Zhao, C. Gunawan, M. Ge, R. Gondosiswanto, L. Aldous. In Analytical Applications of Ionic Liquids, M. Koel (Ed.), p. 287, World Scientific, London (2016).10.1142/9781786340726_0010Search in Google Scholar

[15] D. R. Thevenot, K. Toth, R. A. Durst, G. S. Wilson. Pure Appl. Chem.71, 2333 (1999).10.1351/pac199971122333Search in Google Scholar

[16] J. Labuda, R. P. Bowater, M. Fojta, G. Gauglitz, Z. Glatz, I. Hapala, J. Havliš, F. Kilar, A. Kilar, L. Malinovská, H. M. M. Sirén, P. Skládal, F. Torta, M. Valachovič, M. Wimmerová, Z. Zdráhal, D. B. Hibbert. Pure Appl. Chem.90, 1121 (2018).10.1515/pac-2016-1120Search in Google Scholar

[17] R. P. Buck, S. Rondini, A. K. Covington, F. G. K. Bauke, C. M. A. Brett, M. F. Camoes, M. J. T. Milton, T. Mussini, R. Naumann, K. W. Brett, P. Spitzer, G. S. Wilson. Pure Appl. Chem.74, 2169 (2002).10.1351/pac200274112169Search in Google Scholar

[18] C. M. A. Brett. Pure Appl. Chem.73, 1969 (2001).10.1351/pac200173121969Search in Google Scholar

[19] R. Durst. Pure Appl. Chem.69, 1317 (1997).10.1351/pac199769061317Search in Google Scholar

[20] A. K. Covington, R. G. Bates, R. A. Durst. Pure Appl. Chem.57, 531 (1985).10.1351/pac198557030531Search in Google Scholar

[21] D. S. Silvester, L. Aldous. In Electrochemical Strategies in Detection Science, pp. 341–386, The Royal Society of Chemistry (2016).10.1039/9781782622529-00341Search in Google Scholar

[22] K. Dawson, A. O’Riordan. Ann. Rev. Anal. Chem.7, 163 (2014).10.1146/annurev-anchem-071213-020133Search in Google Scholar PubMed

[23] J. T. Cox, B. Zhang. Ann. Rev. Anal. Chem.5, 253 (2012).10.1146/annurev-anchem-062011-143124Search in Google Scholar PubMed

[24] K. Peckova, J. Barek. Curr. Org. Chem.15, 3014 (2011).10.2174/138527211798357164Search in Google Scholar

[25] J. Svítková, T. Ignat, Ľ. Švorc, J. Labuda, J. Barek. Crit. Rev. Anal. Chem.46, 248 (2016).10.1080/10408347.2015.1082125Search in Google Scholar PubMed

[26] W. Kutner, J. Wang, M. L’her, R. P. Buck. Pure Appl. Chem.70, 1301 (1998).10.1351/pac199870061301Search in Google Scholar

[27] J. Wang, B. Tian, V. B. Nascimento, L. Angnes. Electrochim. Acta43, 3459 (1998).10.1016/S0013-4686(98)00092-9Search in Google Scholar

[28] J. Barek, A. G. Fogg, A. Muck, J. Zima. Crit. Rev. Anal. Chem.31, 291 (2001).10.1080/20014091076776Search in Google Scholar

[29] V. K. Rao, M. K. Sharma, P. Pandey, K. Sekhar. World J. Microbiol. Biotechnol.22, 1143 (2006).10.1007/s11274-006-9154-0Search in Google Scholar

[30] A. E. G. Cass, G. Davis, G. D. Francis, H. A. O. Hill, W. J. Aston, I. J. Higgins, E. V. Plotkin, L. D. L. Scott, A. P. F. Turner. Anal. Chem.56, 667 (1984).10.1021/ac00268a018Search in Google Scholar PubMed

[31] R. P. Buck, E. Lindner. Pure Appl. Chem.66, 2527 (1994).10.1351/pac199466122527Search in Google Scholar

[32] I. Dékány, R. Krüger-Grasser, A. J. C. Weiss, P. Science. 276, 570 (1998).10.1007/s003960050283Search in Google Scholar

[33] B. G. Soares, M. L. Celestino, M. Magioli, V. X. Moreira, D. Khastgir. Synth. Met.160, 1981 (2010).10.1016/j.synthmet.2010.07.021Search in Google Scholar

[34] W. J. Koros, Y. H. Ma, T. Shimidzu. Pure Appl. Chem.68, 1479 (1996).10.1351/pac199668071479Search in Google Scholar

[35] G. Denuault, M. Sosna, K.-J. Williams. In Handbook of Electrochemistry, C. G. Zoski (Ed.), pp. 431–469. Elsevier, Amsterdam (2007).10.1016/B978-044451958-0.50024-0Search in Google Scholar

[36] F. Scholz, ed. Electroanalytical Methods: Guide to Experiments and Applications, Springer-Verlag Berlin Heidelberg, Heidelberg (2010).Search in Google Scholar

[37] G. Kreysa, K.-i. Ota, R. F. Savinell, eds. Encyclopedia of Applied Electrochemistry, Springer-Verlag, New York (2014).10.1007/978-1-4419-6996-5Search in Google Scholar

[38] A. J. Bard, L. R. Faulkner. In Electrochemical Methods: Fundamentals and Applications, 2nd ed., pp. 156–180, Wiley, New York (2001).Search in Google Scholar

[39] R. S. Nicholson. Anal. Chem.37, 1351 (1965).10.1021/ac60230a016Search in Google Scholar

[40] C. M. A. Brett, A. M. Oliveira-Brett. Electrochemistry – Principles, Methods and Applications, Oxford University Press, Oxford (1993).Search in Google Scholar

[41] K. Štulík, V. Pacáková. Electroanalytical Measurements in Flowing Liquids. E. Horwood Chichester, West Sussex, England (1987).Search in Google Scholar

[42] L. Ramaley, M. S. Krause. Anal. Chem.41, 1362 (1969).10.1021/ac60280a005Search in Google Scholar

[43] I. Y. Goon, L. M. Lai, M. Lim, R. Amal, J. J. Gooding. Chem. Commun.46, 8821 (2010).10.1039/c0cc02690eSearch in Google Scholar PubMed

[44] S. Moraes Silva, J. J. Gooding. In Electrochemical Strategies in Detection Science, pp. 279–295. The Royal Society of Chemistry (2016).10.1039/9781782622529-00279Search in Google Scholar

[45] V. E. Bower, R. S. Davis. J. Res. Natl. Bureau Standards85, 175 (1980).10.6028/jres.085.009Search in Google Scholar PubMed PubMed Central

[46] E. Scholz. Fresenius J. Anal. Chem.348, 269 (1994).10.1007/BF00324031Search in Google Scholar

[47] P. Van Rysselberghe. Electrochim. Acta9, 1343 (1964).10.1016/0013-4686(64)85016-7Search in Google Scholar

[48] G. Sauerbrey. J. Physik155, 206 (1959).10.1007/BF01337937Search in Google Scholar

[49] F. M. Camoes, G. Christian, D. B. Hibbert. Pure Appl. Chem.90, 563 (2018).10.1515/pac-2017-0410Search in Google Scholar

[50] K. Stulík. Pure Appl. Chem.59, 521 (1987).10.1351/pac198759040521Search in Google Scholar

[51] K. Tóth, K. Štulík, W. Kutner, Z. Fehér, E. Lindner. Pure Appl. Chem.76, 1119 (2004).10.1351/pac200476061119Search in Google Scholar

[52] W. Plieth, G. Wilson, C. G. De La Fe. Pure Appl. Chem.70, 1395 (1998).10.1351/pac199870071395Search in Google Scholar

Received: 2018-01-30
Accepted: 2019-05-12
Published Online: 2020-04-10
Published in Print: 2020-04-28

© 2020 IUPAC & De Gruyter. This work is licensed under a Creative Commons Attribution-NonCommercial-NoDerivatives 4.0 International License.

This work is licensed under the Creative Commons Attribution-NonCommercial-NoDerivatives 4.0 International License.

Downloaded on 9.10.2025 from https://www.degruyterbrill.com/document/doi/10.1515/pac-2018-0109/html?lang=en&srsltid=AfmBOopk6vmRywV0pjCoXpn6OsyUXMgtyRzFJz8yRTqHz6-73IYrf6_J
Scroll to top button